CTP-L2-AP-U-HA-AZE-SH-158402 (Order no. 158402)
Safety switch with guard locking CTP-AP EXTENDED, RFID, plug connector(s) M23 (RC18)
- Extended (2 illuminated pushbuttons)
- Open-circuit current principle
- Unicode
- Guard lock monitoring output OL
- Monitoring output door position OD
- Monitoring output diagnosis OI
- Plug connector(s) M23 (RC18), 19-pole

Description
Version Extended
The Extended version includes additional control and display elements.
Guard locking principle
Open-circuit current (power on to lock): On a guard with guard locking based on the open-circuit current principle, the guard is locked until the power supply to the guard locking solenoid is interrupted. Unlocking is by spring force. The term electrical guard locking is also used.
Unicode evaluation
Each actuator is highly coded (unicode). The switch detects only taught-in actuators. Additional actuators can be taught-in.
Only the last actuator taught-in is detected.
Terminal assignment
Lens set
The color of the pushbuttons can be selected using the color cover set included (5 colors). Item no.: 120344 (see Accessories)
Accessories required
Actuator is not included.
The safety switch can only be actuated in conjunction with the actuators provided for this purpose.
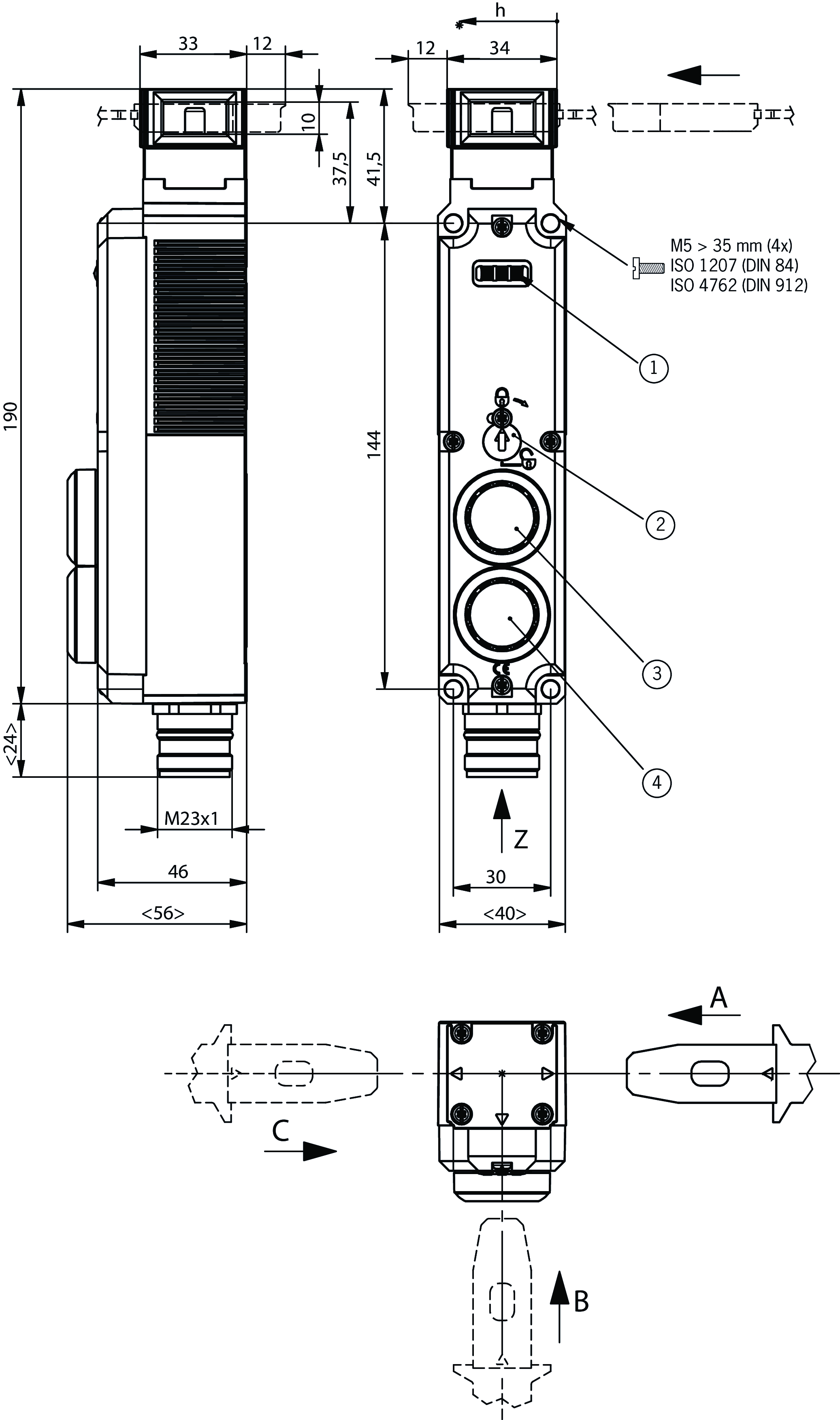
Dimensional drawings

| 1 | LEDs |
| 2 | Auxiliary release |
| 3 | Pushbutton (illuminated) |
| 4 | Pushbutton (illuminated) |
Connection examples

Technical data
Approvals


Workspace
| Repeat accuracy R | 10 % |
Operating and display elements
| Item | Color | Extras | Version | Switching element | Slide-in label | Note slide-in label | Number | Designation1 | LED |
|---|---|---|---|---|---|---|---|---|---|
| 2 | Illuminated pushbutton | 1NO | |||||||
| 3 | Illuminated pushbutton | 1NO |
Electrical connection values
| Fuse | |
| external (operating voltage UB) | 0.25 ... 8 A |
| external (solenoid operating voltage IMP) | 0.5 ... 8 A |
| Power consumption | 6 W |
| Rated insulation voltage Ui | 50 V |
| Rated impulse voltage Uimp | 0.5 kV |
| Operating voltage DC | |
| UUB | 24 V DC -15% ... +15% reverse polarity protected, regulated, residual ripple<5%, PELV |
| EMC protection requirements | Acc. to EN IEC 60947-5-3 |
| Utilization category | |
| DC-13 | 24V 150mA (Caution: outputs must be protected with a free-wheeling diode in case of inductive loads) |
| Solenoid operating voltage DC | |
| UIMP | 24 V DC -15% ... +10% reverse polarity protected, regulated, residual ripple<5%, PELV |
| Solenoid duty cycle | 100 % |
| Switching load | |
| according to UL | 24V DC, Class 2 (alternatively, see operating instructions) |
| Safety class | III |
| Current consumption | |
| IIMP | 400 mA |
| IUB | 40 mA |
| Test pulse duration | max. 0.3 ms (Applies to a load with C<= 30nF and R<= 20kOhm) |
| Test pulse interval | min. 100 ms |
| Degree of contamination (external, according to EN 60947-1) | 3 |
| Controls and indicators | |
| Operating voltage | UB V |
| Operating current | 1 ... 50 mA |
| Power supply | |
| LED | 24 V |
| Current consumption | |
| LED | 10 mA |
| Monitoring output OD, OI, OL | |
| Output type | p-switching, short circuit-proof |
| Output voltage | 0.8xUB ... UB V DC |
| Switching current | 1 ... 50 mA |
| Safety outputs FO1A/FO1B | |
| Output type | 2 semiconductor outputs, p-switching, short circuit-proof |
| Output voltage | |
| HIGH U(FO1A) / U(FO1B) | UB-1.5 ... UB V DC |
| LOW U(FO1A) / U(FO1B) | 0 ... 1 V DC |
| Discrepancy time | |
| both safety outputs | max. 10 ms Acc. to EN IEC 60947-5-3 |
| Turn-on time | max. 400 ms |
| Off-state current Ir | max. 0.25 mA |
| Switching current | |
| per safety output FO1A / FO1B | 1 ... 150 mA |
Mechanical values and environment
| Anfahrgeschwindigkeit | max. 20 m/min |
| Connection type | 1 plug connector M23, 19-pin, RC18 |
| Extraction force | 20 N |
| Ready delay | max. 1 s |
| Actuating force | 10 N |
| Installation orientation | any |
| Switching frequency | max. 0.5 Hz |
| Storage temperature | -25 ... 70 °C |
| Mechanical life | 1 x 10⁶ |
| Overtravel | 5 mm |
| Retention force | 20 N |
| Shock and vibration resistance | Acc. to EN IEC 60947-5-3 |
| Degree of protection | IP65 (In the inserted and screwed tight state) |
| Ambient temperature | |
| at UB = 24 V DC | -20 ... 55 °C |
| Material | |
| Safety switch housing | Reinforced thermoplastic |
| Switch head cover | Die-cast zinc |
| Locking force Fmax | 3900 N |
| Locking force FZh | 3000 N (Fzh = Fmax/1.3, depending on the actuator used) |
| Guard locking principle | Open-circuit current principle |
Characteristic values according to EN ISO 13849-1 and EN IEC 62061
| PL | Maximum SIL | PFHD | Category | Mission time | |
|---|---|---|---|---|---|
| Guard lock monitoring | PL e | - | 4.1x10-9 | 4 | 20 y |
Miscellaneous
| Notices for UL approval | Operation only with UL Class 2 power supply or equivalent measures; see operating instructions |
| Additional feature | incl. lens set, ID no. 120344 |
Accessories

A-C-H-RL-LS-122671
- Hinged actuator for doors hinged on the left
- Two safety screws included

A-C-H-RO-LS-122675
- Hinged actuator for top-hinged doors
- Two safety screws included

A-C-H-RR-LS-122672
- Hinged actuator for doors hinged on the right
- Two safety screws included

A-C-H-RU-LS-122676
- Hinged actuator for bottom-hinged doors
- Two safety screws included
C-M23F19-19XDIFPU01,5-MA-092906
- M23 plug connector, 18-pin + PE
- Angled plug connector
- Cable exit C (left)
- PUR cable
- Cable length 1.5 m
- With flying lead
- Cores color-coded
C-M23F19-19XDIFPU01,5-MA-092907
- M23 plug connector, 18-pin + PE
- Angled plug connector
- Cable exit A (right)
- PUR cable
- Cable length 1.5 m
- With flying lead
- Cores color-coded
C-M23F19-19XDIFPU10,0-MA-092901
- M23 plug connector, 18-pin + PE
- Angled plug connector
- Cable exit C (left)
- PUR cable
- Cable length 10 m
- With flying lead
- Cores color-coded
C-M23F19-19XDIFPU10,0-MA-092902
- M23 plug connector, 18-pin + PE
- Angled plug connector
- Cable exit A (right)
- PUR cable
- Cable length 10 m
- With flying lead
- Cores color-coded
C-M23F19-19XDIFPU15,0-MA-077020
- M23 plug connector, 18-pin + PE
- Angled plug connector
- Cable exit C (left)
- PUR cable
- Cable length 15 m
- With flying lead
- Cores color-coded
C-M23F19-19XDIFPU15,0-MA-085196
- M23 plug connector, 18-pin + PE
- Angled plug connector
- Cable exit A (right)
- PUR cable
- Cable length 15 m
- With flying lead
- Cores color-coded
C-M23F19-19XDIFPU20,0-MA-092910
- M23 plug connector, 18-pin + PE
- Angled plug connector
- Cable exit C (left)
- PUR cable
- Cable length 20 m
- With flying lead
- Cores color-coded
C-M23F19-19XDIFPU20,0-MA-092911
- M23 plug connector, 18-pin + PE
- Angled plug connector
- Cable exit A (right)
- PUR cable
- Cable length 20 m
- With flying lead
- Cores color-coded
C-M23F19-19XDIFPU25,0-MA-092912
- M23 plug connector, 18-pin + PE
- Angled plug connector
- Cable exit C (left)
- PUR cable
- Cable length 25 m
- With flying lead
- Cores color-coded
C-M23F19-19XDIFPU25,0-MA-092913
- M23 plug connector, 18-pin + PE
- Angled plug connector
- Cable exit A (right)
- PUR cable
- Cable length 25 m
- With flying lead
- Cores color-coded
C-M23F19-19XDIFPU03,0-MA-092908
- M23 plug connector, 18-pin + PE
- Angled plug connector
- Cable exit C (left)
- PUR cable
- Cable length 3 m
- With flying lead
- Cores color-coded
C-M23F19-19XDIFPU03,0-MA-092909
- M23 plug connector, 18-pin + PE
- Angled plug connector
- Cable exit A (right)
- PUR cable
- Cable length 3 m
- With flying lead
- Cores color-coded
C-M23F19-19XDIFPU06,0-MA-077018
- M23 plug connector, 18-pin + PE
- Angled plug connector
- Cable exit C (left)
- PUR cable
- Cable length 6 m
- With flying lead
- Cores color-coded
C-M23F19-19XDIFPU06,0-MA-085194
- M23 plug connector, 18-pin + PE
- Angled plug connector
- Cable exit A (right)
- PUR cable
- Cable length 6 m
- With flying lead
- Cores color-coded
C-M23F19-19XDIFPU08,0-MA-077019
- RC18 plug connector, 18-pin + PE
- Angled plug connector
- Cable exit C (left)
- PUR cable
- Cable length 8 m
- With flying lead
- Cores color-coded
C-M23F19-19XDIFPU08,0-MA-085195
- M23 plug connector, 18-pin + PE
- Angled plug connector
- Cable exit A (right)
- PUR cable
- Cable length 8 m
- With flying lead
- Cores color-coded

RIEGEL CTP-AC-123653
- Steel bolt
- For doors hinged on the right and left
- Can be locked in open position with padlocks
- Actuator included

RIEGEL CTP-AC-C2308-137354
- Steel bolt
- For doors hinged on the right and left
- Can be locked in open position with padlocks
- Actuator included
- Bolt without door stop, suitable for swing doors

AM-C-SW4-V3-161344
- Plastic inserts for hexagon socket screws a/f 4
- Efficient protection against tampering for safety switch mounting
- The packaging includes inserts for 18 screws

AM-C-SW5-V3-161348
- Plastic inserts for hexagon socket screws a/f 5
- Efficient protection against tampering for safety switch mounting
- The packaging includes inserts for 18 screws
Downloads
Complete package
Download all important documents with a single click.
Content:
- The operating instructions and any additions to the operating instructions or brief instructions
- Any data sheets to supplement the operating instructions
- The declaration of conformity
Single Documents
Other Documents
ePlan macros
Ordering data
| Ordernumber | 158402 |
| Item designation | CTP-L2-AP-U-HA-AZE-SH-158402 |
| Gross weight | 0,7kg |
| Customs tariff number | 85371098 |
| ECLASS | 27-27-24-05 Safety-related transponder switch with guardlocking |

























