CES-A-AEA-04B (Obj. č. 072000)
Vyhodnocovací jednotka CES-A-AEA-04B/CES-A-UEA-04B (pro 4 čtecí hlavy)
- Možnost připojení 4 čtecích hlav
- 2× bezpečnostní (reléový) kontakt
- 1× interní spínací kontakt na každý bezpečnostní kontakt
- Možnost připojení spouštěcího tlačítka a obvodu zpětné vazby
- Vyhodnocovací jednotka Unicode
- Kategorie 4 / úroveň vlastností „e“ podle normy EN ISO 13849-1

Popis
Vyhodnocovací jednotka Unicode
Každý aktuátor má vysokou úroveň kódování (Unicode). Vyhodnocovací jednotka detekuje pouze naučené aktuátory. Je možné naučit další aktuátory.
Jednotka rozpozná vždy pouze aktuátor, který byl naučen jako poslední. Nové aktuátory se učí zapojením zkratovací propojky.
Kategorie dle normy EN ISO 13849-1
Díky dvěma redundantním reléovým výstupům s interně monitorovanými kontakty vhodný pro:
- Kategorie 4 / úroveň vlastností „e“ podle normy EN ISO 13849-1
Detekční oblast
Vyhodnocovací jednotka má standardní detekční oblast, která dovoluje například větší tolerance nasměrování čtecí hlavy a aktuátoru.
TST | Vstup pro autodiagnostický test |
DIA | Diagnostický výstup |
O1...O4 | Monitorovací výstupy (polovodičové) |
Y1, Y2 | Obvod zpětné vazby |
S | Připojení spouštěcího tlačítka |


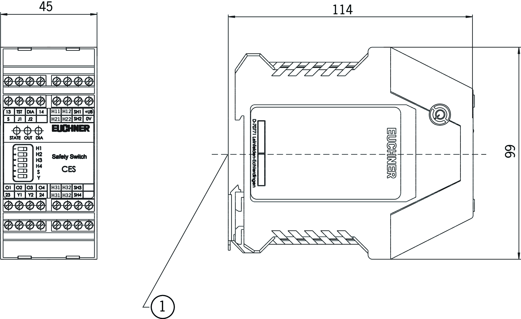
Rozměrové výkresy

| 1 | Vhodné na nosnou lištu 35 mm dle normy EN 60715 |
Příklady připojení

Technické údaje
Schválení



Pracovní prostor
| Opakovatelná přesnost R | |
| Podle EN 60947-5-2 | 10 % |
Ovládací a zobrazovací prvky
| LED displej | |
| Diagnostická LED dioda | |
| Stav bezpečnostních výstupů | |
| Stavová LED dioda |
| Poloha | Barva | Doplňky | Spínací jednotka | Vkládací štítek | Provedení | Vkládací štítek | Počet | Označení1 | LED |
|---|---|---|---|---|---|---|---|---|---|
| Nastavení konfigurace pro učení | Přepínače DIP (H1, H2, H3, H4, S, Y) |
Hodnoty elektrického připojení
| Zajištění | |
| Externí (napájecí napětí UB) | 0.25 ... 8 A |
| Průřez přípojky | |
| Šroubové svorky | 0.25 ... 2.5 mm² |
| Napájecí napětí DC | |
| UB | 21 ... 24 ... 27 V DC Regulováno, zbytkové zvlnění<5 % |
| Požadavky na elektromagnetickou kompatibilitu | Podle normy EN IEC 60947-5-3 |
| Odběr proudu | |
| (při přitaženém relé) | 150 mA (Bez přihlédnutí k zatěžovacímu proudu na signalizačních výstupech) |
| Proud přes obvod zpětné vazby | 5 ... 8 ... 10 mA |
| Stupeň znečištění (externí, podle EN 60947-1) | 2 |
| Přípustný odpor v obvodu zpětné vazby | max. 600 Ω |
| Vstupy: Spouštěcí tlačítko S, testovací vstup TST | |
| Vstupní napětí | |
| HIGH | 15 ... UB V DC |
| LOW | 0 ... 2 V DC |
| Vstupní proud | |
| HIGH | 5 ... 8 ... 10 mA |
| Signalizační výstupy: Diagnostika DIA, signalizační výstupy polohy dveří O1, O2, O3, O4 | |
| Druh výstupu | Polovodičový výstup, PNP, odolný proti zkratu |
| Výstupní napětí | 0.8 x UB ... UB V DC |
| Spínací proud | max. 20 mA |
| Bezpečnostní kontakty 13/14, 23/24 | |
| Zajištění | |
| Externí (bezpečnostní obvod) podle normy EN 60269-1 | 6 AgG, nebo jistič 6 A (charakteristika B nebo C) |
| Druh výstupu | Reléové kontakty, bezpotenciálové |
| Podmíněný návrhový zkratový proud | 100 A |
| Návrhové izolační napětí Ui | 250 V |
| Jmenovité impulzní napětí Uimp | 4 kV |
| Doba diskrepance | |
| (bodů sepnutí obou relé, při čtyřech aktivních aktuátorech) | max. 400 ms |
| Kategorie použití | |
| DC-12 | 30 V, 6 A |
| AC-12 | 30 V, 6 A |
| DC-13 | 24 V, 1,2 A |
| AC-12 | 60 V, 0,3 A |
| AC-15 | 230 V, 1,5 A |
| DC-12 | 60 V, 0,3 A |
| Spínané zatížení | |
| Dle c UL us | Class 2 max. 30 V AC / Class 2 max. 60 V DC |
| Spínací proud | |
| 15 ... 1500 mA pro AC 17 ... 230 V | |
| 15 ... 6000 mA pro AC/DC 17 ... 30 V | |
| 1 ... 300 mA pro AC/DC 1 ... 60 V (Bude-li prostřednictvím reléových výstupů sepnut proud>300 mA ve spojení se spínaným napětím>15 V nebo neohmická zátěž, nebude v důsledku opalu zlatých kontaktů již možné spolehlivě spínat malý proud (<15 mA).) |
Mechanické hodnoty a prostředí
| Typ připojení | Šroubové svorky |
| Počet čtecích hlav | Možnost připojení max. 4 čtecích hlav. |
| Prodleva do dosažení pohotovostního stavu | 10 ... 12 s (Po zapnutí napájecího napětí jsou během prodlevy do dosažení pohotovostního stavu reléové výstupy vypnuté a signalizační výstupy polohy dveří jsou nastaveny na potenciál LOW. Za účelem vizuální signalizace prodlevy bliká frekvencí cca 15 Hz zelená LED dioda STATE.) |
| Frekvence spínání | max. 0.25 Hz (Při monitorování pomocí obvodu zpětné vazby se musejí aktuátory nacházet mimo detekční oblast (například při otevření dveří) tak dlouho, dokud se obvod zpětné vazby neuzavře.) |
| Teplota při skladování | -25 ... 70 °C |
| Vlhkost vzduchu | |
| Nekondenzující | max. 80 % rH |
| Montážní vzdálenost | |
| mezi analyzátory | min. 10 mm |
| Způsob montáže | Nosná lišta TH 35 (EN IEC 60715) |
| Doba odezvy | |
| Po změně stavu ovládání, 4× aktivní aktuátor | max. 450 ms (Podle normy EN 60947-5-3 odpovídá době rizika. Jedná se o maximální prodlevu vypnutí bezpečnostních výstupů po odstranění aktuátoru. V případě elektromagnetického rušení, které přesahuje požadavky podle normy EN 60947-5-3, se prodleva při vypnutí zvýší na max. 750 ms. Po krátkodobé aktivaci<0,8 s se prodleva při zapnutí může zvýšit na max. 3 s.) |
| Doba stisknutí spouštěcího tlačítka (při provozním režimu Ruční spouštění) | min. 250 ms |
| Po změně stavu ovládání, 3× aktivní aktuátor | max. 370 ms (Podle normy EN 60947-5-3 odpovídá době rizika. Jedná se o maximální prodlevu vypnutí bezpečnostních výstupů po odstranění aktuátoru. V případě elektromagnetického rušení, které přesahuje požadavky podle normy EN 60947-5-3, se prodleva při vypnutí zvýší na max. 750 ms. Po krátkodobé aktivaci<0,8 s se prodleva při zapnutí může zvýšit na max. 3 s.) |
| Po změně stavu ovládání, 2× aktivní aktuátor | max. 290 ms (Podle normy EN 60947-5-3 odpovídá době rizika. Jedná se o maximální prodlevu vypnutí bezpečnostních výstupů po odstranění aktuátoru. V případě elektromagnetického rušení, které přesahuje požadavky podle normy EN 60947-5-3, se prodleva při vypnutí zvýší na max. 750 ms. Po krátkodobé aktivaci<0,8 s se prodleva při zapnutí může zvýšit na max. 3 s.) |
| Po změně stavu ovládání, 1× aktivní aktuátor | max. 210 ms (Podle normy EN 60947-5-3 odpovídá době rizika. Jedná se o maximální prodlevu vypnutí bezpečnostních výstupů po odstranění aktuátoru. V případě elektromagnetického rušení, které přesahuje požadavky podle normy EN 60947-5-3, se prodleva při vypnutí zvýší na max. 750 ms. Po krátkodobé aktivaci<0,8 s se prodleva při zapnutí může zvýšit na max. 3 s.) |
| Prodleva odezvy spouštěcího tlačítka (při provozním režimu Ruční spouštění) | 200 ... 300 ms |
| Třída ochrany | IP20 |
| Okolní teplota | |
| Při UB = 24 V DC | -20 ... 55 °C |
| Doba setrvání | min. 3 s (Doba setrvání je doba, během níž se aktuátor musí nacházet mimo detekční oblast.) |
| Materiál | |
| Pouzdro | Plast PA6.6 |
| Bezpečnostní kontakty 13/14, 23/24 | |
| Počet bezpečnostních kontaktů | 2 Relé s interně monitorovanými kontakty (Za účelem zachování bezpečnosti se vždy musejí vyhodnocovat oba bezpečnostní výstupy (13/14 a 23/24).) |
| Mechanická životnost | |
| Spínací cykly (relé) | 10 x 10⁶ |
Charakteristické hodnoty podle EN ISO 13849-1 a EN IEC 62061
| PL | Maximální SIL | PFHD | Kategorie | Doba provozu | ||
|---|---|---|---|---|---|---|
| Monitorování polohy ochranného krytu | Přečtěte si hlavu CES-A-L.. CEM-A-L.. | PL e | - | 1.9x10-8 | 4 | 20 y |
| Platí pouze pro spínací napětí 24 V DC a spínací proud do 0,1 A (max. počet spínacích cyklů 760 000 1/y) NEBO do 1 A (max. počet spínacích cyklů 153 000 1/rok ) NEBO do 3 A (max. počet spínacích cyklů 34 600 1/rok) | ||||||
Různé
| Poznámky ke schválení UL | Provoz pouze s napájením opatřeným atestem UL-Class 2 nebo rovnocenným. |
V kombinaci s čtecí hlavou CES-A-LMN-SC a aktuátorem CES-A-BMB
| Vzdálenost aktuátoru „s“ | |
| Minimální vzdálenost při bočním směru nájezdu | min. 1.2 mm |
| Zapínací vzdálenost | |
| Při odchylce soustřednosti m = 0 | 5 mm (Při nelícující montáži čtecí hlavy na ocelový díl) |
| Zajištěná vzdálenost vypnutí sar | 10 mm |
| Zajištěná spínací vzdálenost sao | |
| Při odchylce soustřednosti m = 0 | min. 3.5 mm (Při nelícující montáži čtecí hlavy na ocelový díl) |
| Spínací hystereze | 0.1 ... 0.3 mm (Při nelícující montáži čtecí hlavy na ocelový díl) |
V kombinaci s čtecí hlavou CES-A-LNA-SC-077715, CES-A-LNA-05P-077806, CES-A-LNA-10P-077807, CES-A-LNA-05V-071845, CES-A-LNA-10V-071846, CES-A-LNA-15V-071847, CES-A-LNA-25V-071975, CES-A-LNA-15P-084682, CES-A-LCA-10V a aktuátorem CES-A-BDA-20
| Vzdálenost aktuátoru „s“ | |
| Minimální vzdálenost při bočním směru nájezdu | min. 4 mm (Při montáži do prostoru, který neobsahuje kovy) |
| Zapínací vzdálenost | |
| Při odchylce soustřednosti m = 0 | 16 mm (Při montáži do prostoru, který neobsahuje kovy) |
| Zajištěná vzdálenost vypnutí sar | 33 mm |
| Zajištěná spínací vzdálenost sao | |
| Při odchylce soustřednosti m = 0 | min. 11 mm (Při montáži do prostoru, který neobsahuje kovy) |
| Spínací hystereze | 0.5 ... 2 mm (Při montáži do prostoru, který neobsahuje kovy) |
V kombinaci s čtecí hlavou CES-A-LQA-SC a aktuátorem CES-A-BQA
| Zapínací vzdálenost | |
| Při bočním směru nájezdu (vzdálenost ve směru X 10 mm) | 28 mm (Při nelícující montáži čtecí hlavy a aktuátoru) |
| Při svislém směru nájezdu (odchylka soustřednosti m = 0) | 23 mm (Při nelícující montáži čtecí hlavy a aktuátoru) |
| Zajištěná vzdálenost vypnutí sar | 60 mm |
| Zajištěná spínací vzdálenost sao | |
| Při bočním směru nájezdu (vzdálenost ve směru X 10 mm) | min. +/- 24 mm (Při nelícující montáži čtecí hlavy a aktuátoru) |
| Při svislém směru nájezdu (odchylka soustřednosti m = 0) | min. 16 mm (Při nelícující montáži čtecí hlavy a aktuátoru) |
| Spínací hystereze | |
| Při bočním směru nájezdu (vzdálenost ve směru X 10 mm) | 1 ... 1.3 mm (Při nelícující montáži čtecí hlavy a aktuátoru) |
| Při svislém směru nájezdu (odchylka soustřednosti m = 0) | 2 ... 3 mm (Při nelícující montáži čtecí hlavy a aktuátoru) |
V kombinaci s čtecí hlavou CES-A-LMN-SC
| Montážní vzdálenost | |
| mezi čtecími hlavami | min. 20 mm |
V kombinaci s čtecí hlavou CES-A-LNA-SC-077715, CES-A-LNA-05P-077806, CES-A-LNA-10P-077807, CES-A-LNA-05V-071845, CES-A-LNA-10V-071846, CES-A-LNA-15V-071847, CES-A-LNA-25V-071975, CES-A-LNA-15P-084682, CES-A-LCA-10V a aktuátorem CES-A-BBA-071840, CES-A-BCA
| Vzdálenost aktuátoru „s“ | |
| Minimální vzdálenost při bočním směru nájezdu | min. 3 mm |
| Zapínací vzdálenost | |
| Při odchylce soustřednosti m = 0 | 15 mm (Při nelícující montáži čtecí hlavy a aktuátoru) |
| Zajištěná vzdálenost vypnutí sar | 32 mm |
| Zajištěná spínací vzdálenost sao | |
| Při odchylce soustřednosti m = 0 | min. 10 mm (Při nelícující montáži čtecí hlavy a aktuátoru) |
| Spínací hystereze | 0.5 ... 2 mm (Při nelícující montáži čtecí hlavy a aktuátoru) |
V kombinaci s čtecí hlavou CES-A-LNA-SC-077715, CES-A-LNA-05P-077806, CES-A-LNA-10P-077807, CES-A-LNA-05V-071845, CES-A-LNA-10V-071846, CES-A-LNA-15V-071847, CES-A-LNA-25V-071975, CES-A-LNA-15P-084682, CES-A-LCA-10V
| Montážní vzdálenost | |
| mezi čtecími hlavami | min. 50 mm |
V kombinaci s čtecí hlavou CES-A-LQA-SC
| Montážní vzdálenost | |
| mezi čtecími hlavami | min. 80 mm |
V kombinaci s čtecí hlavou CES-A-LQA-SC a aktuátorem CES-A-BBA-071840, CES-A-BCA
| Zapínací vzdálenost | |
| Při bočním směru nájezdu (vzdálenost ve směru X 8 mm) | 22 mm (Při nelícující montáži čtecí hlavy a aktuátoru) |
| Při svislém směru nájezdu (odchylka soustřednosti m = 0) | 15 mm (Při nelícující montáži čtecí hlavy a aktuátoru) |
| Zajištěná vzdálenost vypnutí sar | 47 mm |
| Zajištěná spínací vzdálenost sao | |
| Při bočním směru nájezdu (vzdálenost ve směru X 8 mm) | min. +/- 18 mm (Při nelícující montáži čtecí hlavy a aktuátoru) |
| Při svislém směru nájezdu (odchylka soustřednosti m = 0) | min. 10 mm (Při nelícující montáži čtecí hlavy a aktuátoru) |
| Spínací hystereze | |
| Při svislém směru nájezdu (odchylka soustřednosti m = 0) | 2 ... 3 mm (Při nelícující montáži čtecí hlavy a aktuátoru) |
| Při bočním směru nájezdu (vzdálenost ve směru X 8 mm) | 1 ... 1.8 mm (Při nelícující montáži čtecí hlavy a aktuátoru) |
Příslušenství

CEM-A-LE05K-S1-10P
- Čtecí hlava s jištěním ochranného krytu bez monitorování stavu jištění
- Držicí síla 650 N
- S remanencí
- Připojení vyhodnocovací jednotky CES: kabel 10 m, PUR
- Připojení napájecího napětí elektromagnetu: zásuvka s kolíky M8
- Do kategorie 4 podle normy EN ISO 13849-1

CEM-A-LE05K-S2
- Čtecí hlava s jištěním ochranného krytu bez monitorování stavu jištění
- Držicí síla 650 N
- S remanencí
- Do kategorie 4 podle normy EN ISO 13849-1
- Dva bezpečnostní šrouby M5 × 16 jsou součástí dodávky
Ke stažení
Celé balení
Stáhněte si všechny důležité dokumenty jedním kliknutím.
Obsahuje:
- Návod k použití a příp. dodatky k návodu k použití nebo stručné návody
- Příp. datové listy jako dodatek k návodu k použití
- Prohlášení o shodě
Jednotlivé dokumenty
Ostatní dokumenty
Makra ePlan
CAD/eCAD
Objednací údaje
| Obj. č. | 072000 |
| Název výrobku | CES-A-AEA-04B |
| Hmotnost brutto | 0,34kg |
| Global Trade Item Number (GTIN) | 4047048000216 |
| Číslo celního tarifu | 85364110 |
| ECLASS | 27-27-24-03 Safety-related transponder switch |







