LEITUNG 23-ADRIG 10,0M (订货号 087384)
选择内容
手持操作单元HBA/HBM/HBL/ZSM的直线接配线电缆
- PUR直线电缆
- 10 m长电缆
- 配有飞线
- 23芯,切口整齐
说明


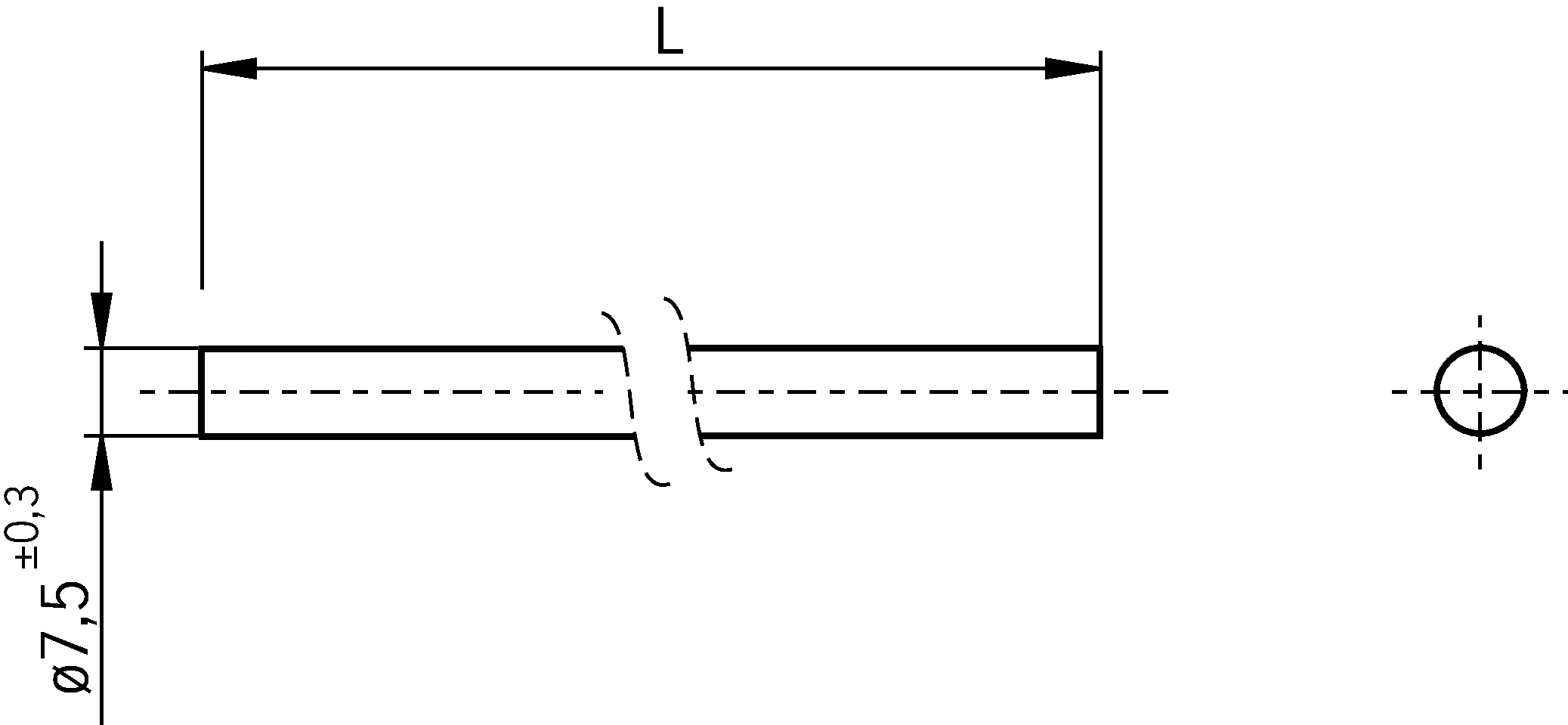
尺寸图

| L | 10 m长电缆 |
连接实例

技术数据
电气连接值
| 电缆屏蔽 | 是 (铜螺纹覆盖,光学覆盖率约90%) |
| 特定导线电阻 | max. 145 Ω/km |
机械值和环境
| 导线标识 | 颜色编码符合DIN 47100要求 |
| 导线截面积 | 0.14 mm² |
| 导线数 | 23 |
| 动态弯曲半径 | 15 x电缆直径 |
| 静态弯曲半径 | 10 x电缆直径 |
| 存储温度 | -40 ... 80 °C |
| 电缆类型 | 直型 |
| 电缆直径 | 7.5 mm -0,3 ... +0,3 mm |
| 电缆长度 | 10.0 m |
| 护套颜色 | 亚光黑 |
| 电缆环境温度(动态) | -10 ... 70 °C |
| 电缆环境温度(静态) | -40 ... 80 °C |
| 材料 | |
| 护套 | PUR |
| 连接1、2 | |
| 导线端 | 修剪光滑 |
| 连接类型 | 飞线 |
订货数据
| 订货号 | 087384 |
| 项目名称 | LEITUNG 23-ADRIG 10,0M |
| 总重量 | 0,867kg |
| 海关税则号 | 85389099990 |
| ECLASS | 27-06-03-04 Appliance cord (data cable) |
