MSM-1-S-CS-B0P000-K7-170851 (注文番号 170851)
コンテンツを選ぶ
サブモジュール MSM-1-S...(保護カラー付き照光式非常停止、照光式押しボタン)
- モジュール MGB2 および MCM 用の拡張機能
- 接続タイプ: S
- ISO 13850 準拠の保護カラー付き照光式非常停止 1 個
- ラベル付き照光式押しボタン 1 個

説明


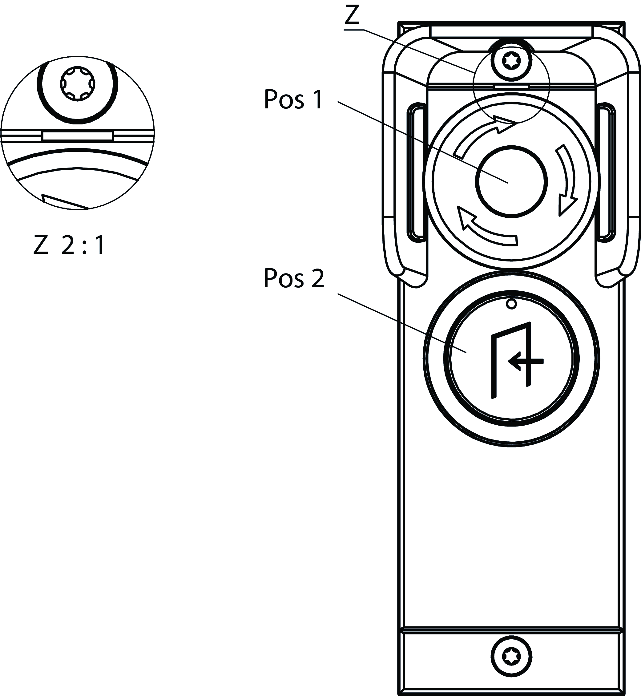
寸法図

| Pos 1 | ISO 13850 準拠非常停止 |
| Pos 2 | 照光式押しボタン、青 |
| Z | 項目 1 の方向をマーク |
寸法図

技術データ
操作・表示素子
| ポジション | カラー | 予備 | スライドイン ラベル | スイッチ素子 | 注意スライドイン ラベル | バージョン | 番号 | Designation1 | LED |
|---|---|---|---|---|---|---|---|---|---|
| 1 | 2 PD | 保護カラー付き照光式非常停止 | |||||||
| 2 | 青 | 印字 | 1NO | 照光式押しボタン |
電気的接続値
| 消費電流 | max. 22 mA |
| コントロールとインジケーター | |
| 遮断容量 | max. 0.25 W |
| スイッチング電圧 | 24 V |
| スイッチング電流 | 5 ... 10 mA |
| LED 電源 | 24 V DC |
| 照光式非常停止 | |
| 遮断容量 | max. 0.25 W |
| スイッチング電圧 | 5 ... 24 V |
| スイッチング電流 | 1 ... 100 mA |
| LED 電源 | 24 V DC |
機械的価値と環境
| 取り付け向き | すべて |
| 保管温度 | -25 ... 70 °C |
| 応答速度 | バス・モジュール MBM-... またはインターロッキング / ロッキング モジュール MGB2-I.-BR-... の操作説明書を参照してください/ MGB2-L.-BR-... |
| 耐衝撃性および耐振動性 | EN IEC 60947-5-3 準拠 |
| 保護等級 | IP65(IP20) (組み付け状態) |
| 周囲温度 | |
| UB = 24V DC で | -25 ... 55 °C |
| 素材 | ガラス繊維強化プラスチック |
EN ISO 13849-1およびEN IEC 62061に準拠した特性値。
| B10D | 耐用時間 | |
|---|---|---|
| 非常停止 | 0.13x106 | 20 y |
その他
| Submodulbreite | 1 |
| ソフトウェア ID (SW-ID) | 9000047 |
アクセサリー
ダウンロード
一式
ワンクリックですべての重要文書をダウンロードできます。
コンテンツ:
- 操作説明書、およびその補足文書もしくは簡略説明書
- 操作説明書の補足データシート
- 適合宣言書
一式をダウンロード (ZIP, 2,9 MB)
単一文書
その他の文書
認証・証明書
WEEE
文書番号
バージョン
言語
サイズ
WEEE
文書番号
ECO20001806
バージョン
言語
サイズ
0,1 MB
発注データ
| 注文番号 | 170851 |
| 品目指定 | MSM-1-S-CS-B0P000-K7-170851 |
| 総重量 | 0,115kg |
| 関税番号 | 85371098 |
| ECLASS | 27-24-26-05 Field bus, decentralized peripheral - function-/technology module |








