MSM-1-P-CA-LQV-C6-157721 (注文番号 157721)
コンテンツを選ぶ
サブモジュール MSM-1-P...(白色シグナル インジケーター、スライドイン ラベル、回転式キー操作スイッチ)
- モジュール MGB2 および MCM 用の拡張機能
- 接続タイプ: P
- 白色シグナル インジケーター
- スライドイン ラベル用の開口部 1 個
- V 字形回転式キー操作スイッチ、1 x 90°、1 個、E7 クローズ付き
- レンズ・セットを含む (1 x 白、1 x ラベル付き白)
- 1 枚のスラインドイン・ラベル付き

説明
重要:
回転式キー操作スイッチにキーは付属していません。EUCHNER 経由でキーを注文することはできません。



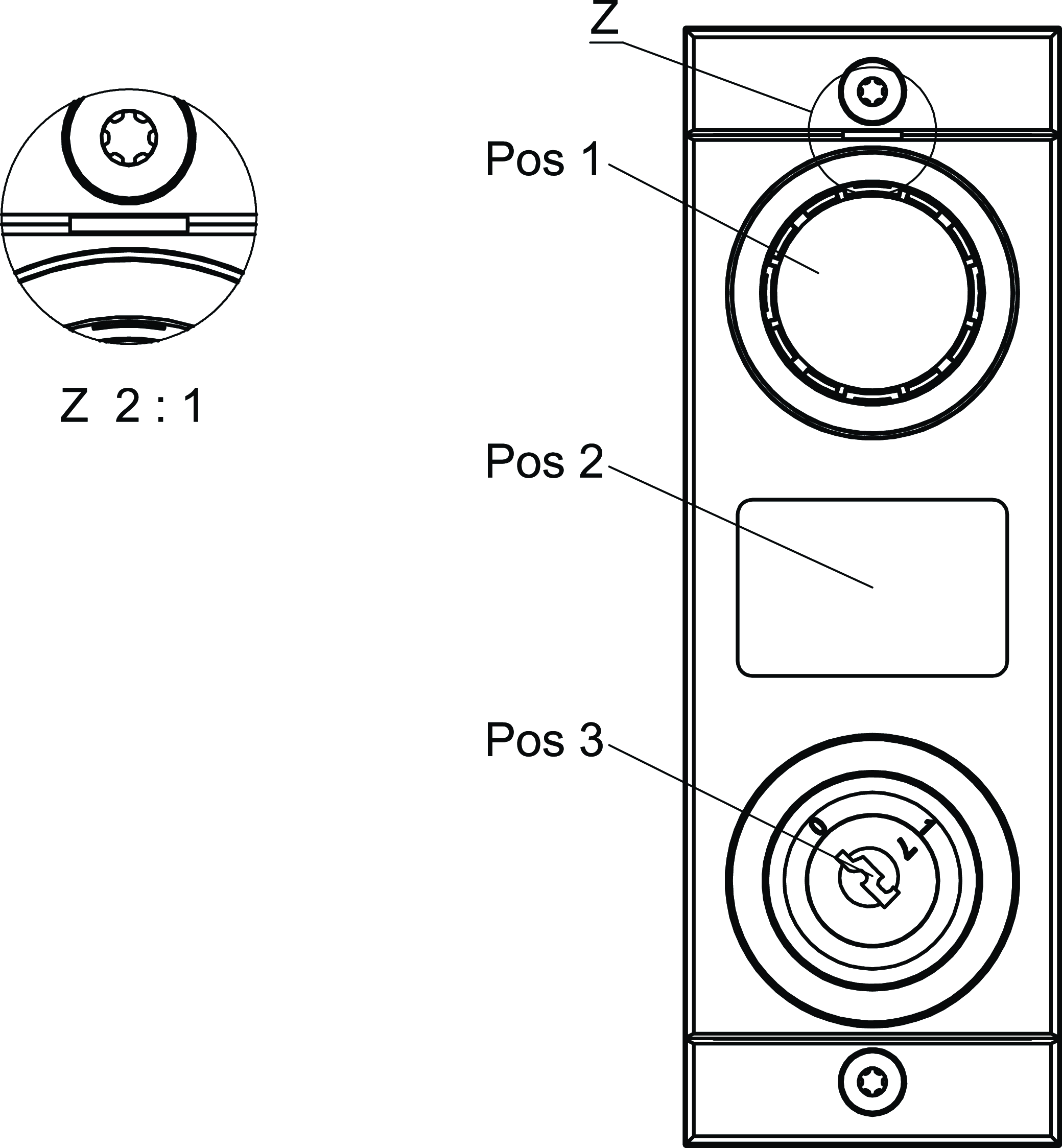
寸法図

| Pos 1 | 白色シグナル インジケーター |
| Pos 2 | スライドイン ラベル |
| Pos 3 | V 字形回転式キー操作スイッチ 1 x 90 ° |
| Z | 項目 1 の方向をマーク |
寸法図

接続例

技術データ
操作・表示素子
| ポジション | カラー | 予備 | スイッチ素子 | バージョン | スライドイン ラベル | 注意スライドイン ラベル | 番号 | Designation1 | LED |
|---|---|---|---|---|---|---|---|---|---|
| 1 | シグナル インジケーター | ||||||||
| 2 | 17.5x27 mm | スライドイン ラベル用の位置 | |||||||
| 3 | E7 | 2NO | キースイッチ(テストパルス監視) |
電気的接続値
| 消費電流 | max. 12 mA |
| コントロールとインジケーター | |
| 遮断容量 | max. 0.25 W |
| スイッチング電圧 | 24 V |
| スイッチング電流 | 5 ... 10 mA |
| LED 電源 | 24 V DC |
機械的価値と環境
| 取り付け向き | すべて |
| 保管温度 | -25 ... 70 °C |
| 耐衝撃性および耐振動性 | EN IEC 60947-5-3 準拠 |
| 保護等級 | IP65(IP20) (組み付け状態) |
| 周囲温度 | |
| UB = 24V DC で | -25 ... 55 °C |
| 素材 | ガラス繊維強化プラスチック、ダイキャスト亜鉛、ニッケルメッキ |
EN ISO 13849-1およびEN IEC 62061に準拠した特性値。
| B10D | 耐用時間 | |
|---|---|---|
| 安全な回転式キー操作スイッチ | 0.06x106 | 20 y |
その他
| Submodulbreite | 1 | スライドイン ラベル | |||||
| |||||||
| ソフトウェア ID (SW-ID) | 157721 | ||||||
| 追加機能 | レンズセット付き | ||||||
アクセサリー
ダウンロード
一式
ワンクリックですべての重要文書をダウンロードできます。
コンテンツ:
- 操作説明書、およびその補足文書もしくは簡略説明書
- 操作説明書の補足データシート
- 適合宣言書
一式をダウンロード (ZIP, 0,5 MB)
単一文書
その他の文書
認証・証明書
WEEE
文書番号
バージョン
言語
サイズ
WEEE
文書番号
ECO20001806
バージョン
言語
サイズ
0,1 MB
CAD/eCAD
発注データ
| 注文番号 | 157721 |
| 品目指定 | MSM-1-P-CA-LQV-C6-157721 |
| 総重量 | 0,13kg |
| 関税番号 | 85371098 |
| ECLASS | 27-24-26-05 Field bus, decentralized peripheral - function-/technology module |












