KezdőlapProductsMultifunctional Gate Box MGB2 Modular and ClassicSubmodules MSMMSM-1-K-CA-CPJ-B4-137736
MSM-1-K-CA-CPJ-B4-137736 (Rend. sz. 137736)
Válasszon tartalmat
Submodule MSM-1-K... (emergency stop, 1 illuminated pushbutton, 1 key-operated rotary switch, form L)
- Function expansion
- Connection type: K
- Emergency stop according to ISO 13850
- 1 illuminated pushbuttons
- 1 key-operated rotary switch 1 x 90°, form L
- incl. lens set

Ismertetés
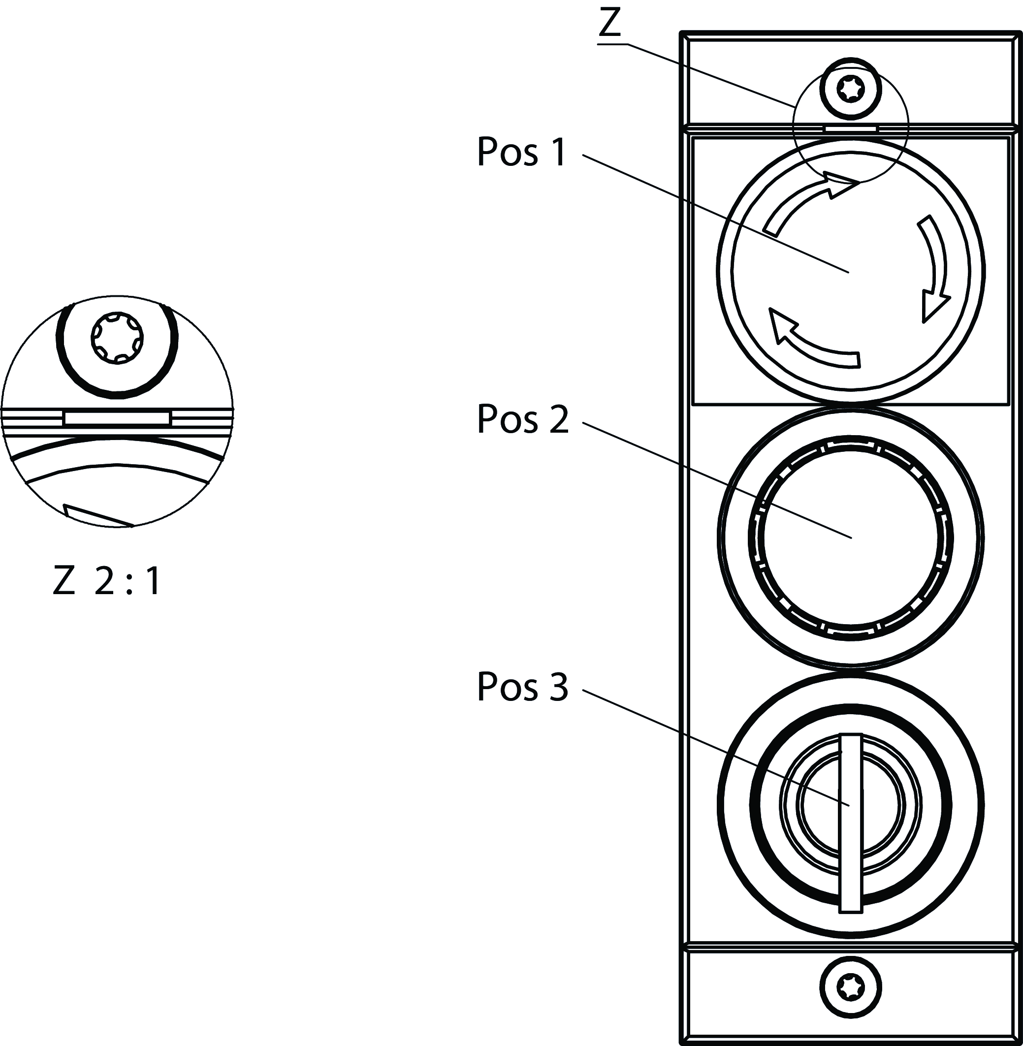
Dimensional drawings

Dimensional drawings

| Pos 1 | Emergency stop according to ISO 13850 |
| Pos 2 | Illuminated pushbutton |
| Pos 3 | Key-operated rotary switch1 x 90°, form L |
| Z | marks orientation of item 1 |
Connection examples

Műszaki adatok
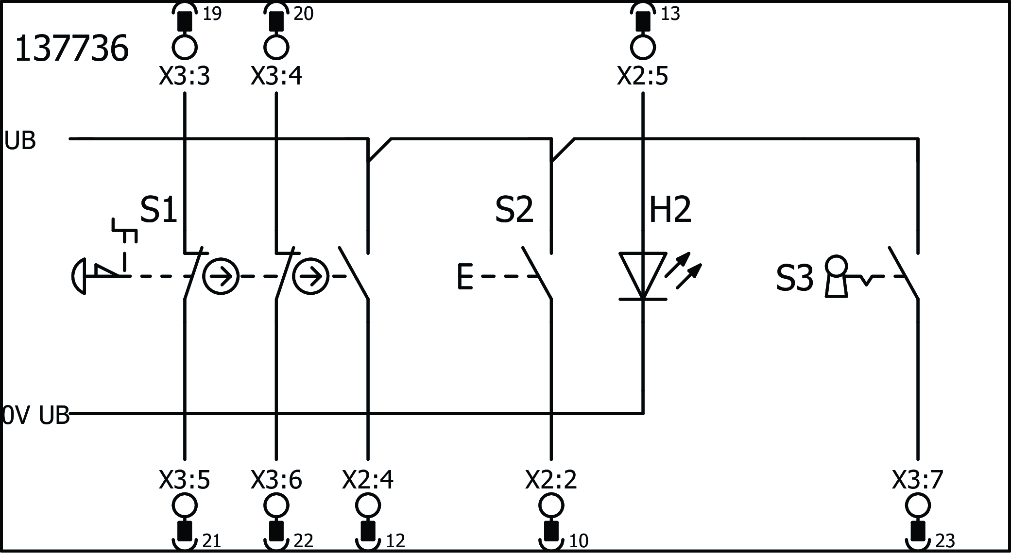
Operating and display elements
| Item | Color | Extras | Note slide-in label | Version | Switching element | Slide-in label | Number | Designation1 | LED |
|---|---|---|---|---|---|---|---|---|---|
| 1 | Emergency stop with monitoring contact | 2 PD + 1 NO | |||||||
| 2 | Illuminated pushbutton | 1NO | |||||||
| 3 | Key-operated rotary switch | 1NO |
Electrical connection values
| Current consumption | max. 16 mA |
| Controls and indicators | |
| Breaking capacity | max. 0.25 W |
| Switching voltage | 24 V |
| Switching current | 5 ... 10 mA |
| LED power supply | 24 V DC |
| Emergency stop | |
| Breaking capacity | max. 0.25 W |
| Switching voltage | 5 ... 24 V |
| Switching current | 1 ... 100 mA |
Mechanical values and environment
| Installation orientation | any |
| Storage temperature | -25 ... 70 °C |
| Shock and vibration resistance | Acc. to EN IEC 60947-5-3 |
| Degree of protection | IP65 (IP20) (in the installed state) |
| Ambient temperature | |
| at UB = 24 V DC | -25 ... 55 °C |
| Material | Fiber glass reinforced plastic, die-cast zinc, nickel plated |
Characteristic values according to EN ISO 13849-1 and EN IEC 62061
| B10D | Mission time | |
|---|---|---|
| Emergency stop | 0.13x106 | 20 y |
Miscellaneous
| Submodulbreite | 1 |
| Additional feature | incl. lens set, ID no. 120344 |
Tartozékok
Letöltések
Teljes csomag
Minden fontos dokumentum letöltése egyetlen kattintással.
Tartalom:
- A használati utasítás és a használati utasítás vagy a rövid utasítás kiegészítései
- A használati utasítást kiegészítő adatlapok
- A megfelelőségi nyilatkozat
Teljes csomag letöltése (ZIP, 0,3 MB)
Egyedi dokumentumok
Egyéb dokumentumok
Approvals and certificates
WEEE
Dok. sz.
Változat
Nyelv
Méret
WEEE
Dok. sz.
ECO20001806
Változat
Nyelv
Méret
0,1 MB
ePlan macros
EUC.137736
Dok. sz.
Változat
Nyelv
Méret
EUC.137736
Dok. sz.
Változat
Nyelv
Méret
0,1 MB
CAD-adatok
Rendelési adatok
| Rend. sz. | 137736 |
| Cikk neve | MSM-1-K-CA-CPJ-B4-137736 |
| Súly | 0,15kg |
| Vámtarifaszám | 85371098 |
| ECLASS | 27-24-26-05 Field bus, decentralized peripheral - function-/technology module |















