CES-I-BR-U-C07-SA-157920 (N° de commande 157920)
Interrupteur de sécurité CES-I-BR-.-C07-..., RFID, connecteur(s) M12
- Unicode
- Sortie de signalisation position porte
- Connecteur M12, 8 broches

Description
Zone de détection type
(Uniquement en combinaison avec l'actionneur CES-A-BTN-C07)
Afin de ne pas entrer dans la zone de détection des lobes secondaires, une distance minimale s = 6 mm doit être respectée entre l’actionneur et l’interrupteur de sécurité pour une approche latérale.
Attention :
La zone de détection peut varier en fonction de l'actionneur, du matériau du support et de l'emplacement de montage. Vous trouverez d'autres zones de détection dans le mode d'emploi.
Analyse Unicode
Chaque actionneur possède un niveau de codage élevé (unicode). L’interrupteur ne reconnaît que les actionneurs appris. L’apprentissage d’autres actionneurs est possible.
L’actionneur reconnu est toujours celui qui a été appris en dernier.
Valeurs caractéristiques de sécurité
Grâce à deux sorties de sécurité redondantes (sorties à semi-conducteur) avec contrôle interne, l'appareil convient pour :
- Catégorie 4 /PL e selon EN 13849-1
- SIL 3 selon EN IEC 62061
Les sorties OSSD utilisées vérifient leur fonction à l'aide d'impulsions de test pour les courts-circuits et les courts-circuits (entre deux conducteurs).
Indication par LED
STATE | LED d’état |
DIA | LED de diagnostic |
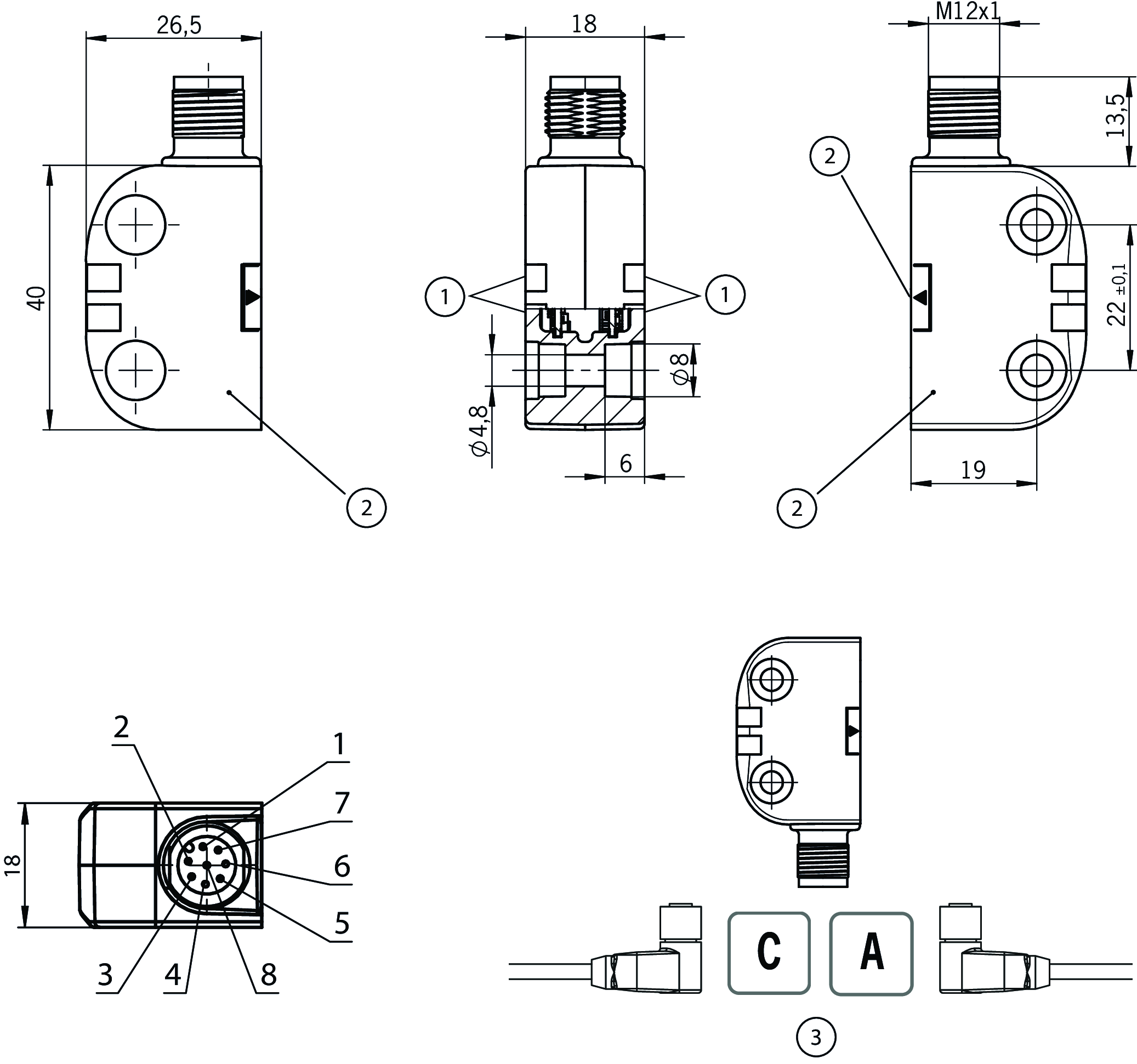
Affectation des broches
Connecteur(s) aligné(s) C07
Pour la position de montage de l'appareil représentée : Départ de ligne C (gauche), Départ de ligne A (droite).
Contenu de la livraison
- Capuchons pour les alésage de fixation
Accessoires nécessaires
L’actionneur n'est pas fourni.
Dessins cotés

| 1 | LED |
| 2 | Face active |
| 3 | Avec la position de montage représentée : départ de ligne à gauche ou à droite |
Exemples de connexion

Caractéristiques techniques
Autorisations




Espace de travail
| Répétabilité R | 10 % |
Puissance électrique connectée
| Couverture | |
| externe (tension de service) | 0.25 ... 8 A |
| Courant conditionnel de court-circuit | 100 A |
| Tension assignée d’isolement Ui | 75 V |
| Tension de choc assignée Uimp | 1.5 kV |
| Tension de service DC | |
| UB | 24 V DC -15% ... +15% stabilisée, ondulation résiduelle<5 %, PELV |
| Temps d’activation | |
| Sorties de sécurité | max. 100 ms |
| Exigences de protection CEM | selon EN IEC 60947-5-3 |
| Durée du risque selon EN 60947-5-3 | max. 125 ms |
| Durée du risque selon EN 60947-5-3, Rallonge pour chaque appareil supplémentaire | max. 10 ms |
| Classe de protection | III |
| Consommation | 40 mA |
| Degré de pollution (externe, selon EN 60947-1) | 3 |
| Sortie de signalisation OD/C | |
| Type de sortie | PNP, protégées contre les courts-circuits |
| Tension de sortie | UB-1.5 ... UB V DC |
| Courant de commutation | 1 ... 50 mA |
| Sorties de sécurité FO1A / FO1B | |
| Type de sortie | Sorties à semi-conducteurs, PNP, protégées contre les courts-circuits |
| Tension de sortie | |
| HAUT U(FO1A) / U(FO1B) | UB-1.5V ... UB V DC (Valeurs pour un courant de 50 mA sans prise en compte de la longueur de câble.) |
| BAS U(FO1A) / U(FO1B) | 0 ... 1 V DC |
| Temps différentiel | max. 10 ms |
| Catégorie d’emploi | |
| DC-13 | 24 V 150 mA (Attention : les sorties doivent être protégées par une diode de roue libre en cas de charges inductives.) |
| Courant résiduel Ir | max. 0.25 mA |
| Courant de commutation | 1 ... 150 mA |
| Durée de l'impulsion de test | 0.3 ms (Valable pour une charge avec C<= 30 nF et R<= 20 kΩ) |
| Intervalle des impulsions de test | ca 100 ms |
Valeurs mécaniques et environnement
| Dimensions | 40 x 26,5 x 18 |
| Type de connexion | Connecteur M12, 8 broches |
| Couple de serrage | max. 0.8 Nm |
| Temporisation avant l’état prêt | 5 s |
| Altitude de service | max. 4 000 m |
| Position de montage | Au choix |
| Fréquence de commutation | max. 1 Hz |
| Température de stockage | -25 ... 70 °C |
| Distance de montage | |
| entre les interrupteurs | min. 50 mm |
| Type de montage | non affleurant sur métal |
| Résistance aux chocs et aux vibrations | selon EN IEC 60947-5-3 |
| Indice de protection | IP65 / IP67 / IP69 / IP69K |
| Température ambiante | |
| avec UB = 24 V DC | -25 ... 55 °C (65°C pour IL = max. 10 mA par sortie de sécurité) |
| Matériau | |
| Boîtier | Plastique, PBT-PC-GF30 |
Valeurs caractéristiques selon EN ISO 13849-1 et EN IEC 62061
| PL | SIL maximal | PFHD | Catégorie | Durée d’utilisation | |
|---|---|---|---|---|---|
| Surveillance de la position du protecteur | PL e | 3 | 6x10-10 | 4 | 20 y |
Divers
| Avis pour l'homologation UL | Fonctionnement uniquement avec alimentation UL-Class 2 ou mesures équivalentes |
| Caractéristique supplémentaire | Caches fournis |
En combinaison avec l’actionneur CES-A-BTN-C07-156230
| Distance de connexion | |
| Position de montage C + D | 7 mm |
| Position de montage A + B | 13 mm |
| Distance de déconnexion sécurisée sar | |
| en sens x / position de montage C + D | max. 17 mm |
| en sens x / position de montage A + B | max. 20 mm |
| Distance de commutation assurée sao | |
| en sens x / position de montage C | min. 3 mm |
| en sens x / position de montage D | min. 2 mm |
| en sens x / position de montage B | min. 9 mm |
| en sens x / position de montage A | min. 10 mm |
En combinaison avec les actionneurs CES-A-BDN-06-158210, CES-A-BTN-C07-156230
| Hystérésis de commutation | 1 ... 2 mm |
En combinaison avec l’actionneur CES-A-BDN-06-158210
| Distance de connexion | |
| Position de montage A | 16 mm |
| Position de montage D | 7 mm |
| Position de montage C | 8 mm |
| Position de montage B | 11 mm |
| Distance de déconnexion sécurisée sar | |
| en sens x / position de montage A | max. 24 mm |
| en sens x / position de montage C | max. 21 mm |
| Distance de commutation assurée sao | |
| en sens x / position de montage A | min. 13 mm |
| en sens x / position de montage C | min. 6 mm |
Accessoires

C-M12F08-08X025PU10,0-MA-113188
- Connecteur femelle M12, 8 broches
- Connecteur coudé
- Orientation A (côté droit)
- Câble PUR
- Longueur de câble 10 m
- Avec extrémité de câble libre

C-M12F08-08X025PU10,0-MA-113189
- Connecteur femelle M12, 8 broches
- Connecteur coudé
- Orientation C (côté gauche)
- Câble PUR
- Longueur de câble 10 m
- Avec extrémité de câble libre

C-M12F08-08X025PU20,0-MA-120998
- Connecteur femelle M12, 8 broches
- Connecteur coudé
- Orientation A (côté droit)
- Câble PUR
- Longueur de câble 20 m
- Avec extrémité de câble libre

C-M12F08-08X025PU20,0-MA-120999
- Connecteur femelle M12, 8 broches
- Connecteur coudé
- Orientation C (côté gauche)
- Câble PUR
- Longueur de câble 20 m
- Avec extrémité de câble libre

AC-YD-V0,2-SBB-111696
- Pour le raccordement en série d'interrupteurs de sécurité AR/BR dans des interrupteurs en série
- Connecteur en Y M12 avec câble de raccordement, 2 x 5 broches, 1 x 8 broches
- Connecteur droit
- Câble PVC
- Longueur de câble 0,2 m

AC-YD-V1,0-SBB-112395
- Pour le raccordement en série d'interrupteurs de sécurité AR/BR dans des interrupteurs en série
- Connecteur en Y M12 avec câble de raccordement, 2 x 5 broches, 1 x 8 broches
- Connecteur droit
- Câble PVC
- Longueur de câble 1 m
Téléchargements
Ensemble complet
Télécharger tous les documents importants en un seul clic.
Contient :
- Le mode d’emploi et, le cas échéant, compléments du mode d’emploi ou brèves instructions
- Le cas échéant, fiches techniques en complément du mode d’emploi
- La déclaration de conformité
Documents individuels
Autres documents
Données de commande
| N° de commande | 157920 |
| Désignation article | CES-I-BR-U-C07-SA-157920 |
| Poids brut | 0,055kg |
| Code douanier | 85365019000 |
| ECLASS | 27-27-24-03 Safety-related transponder switch |


















