AccueilProduitsBarrières photoélectriques et rideaux lumineuxLCA 4 Master/SlaveLCA-4TR-S2-30-1210-AP-156634
LCA-4TR-S2-30-1210-AP-156634 (N° de commande 156634)
Choisir le contenu
Rideau lumineux LCA-4TR-S2-30-1210
- Rideau lumineux esclave 2
- Pour montage en cascade (raccordement en série)
- Résolution 30 mm
- Hauteur de champ de protection 1210 mm
- Portée 12 m
- Avec connecteur M12
- Le matériel de montage est fourni avec le produit

Description
Les combinaisons suivantes sont possibles :
Variante A : | Maître-Esclave 2-Esclave 1 |
Variante B : | Maître-Esclave 1 |
LED OK | Fonctionnement normal |
LED ERROR | État d’erreur |
LED STOP | État d’arrêt |
LED TEST | Fonction de test |
LED START | Démarrage / redémarrage |
Affectation des broches émetteur / récepteur





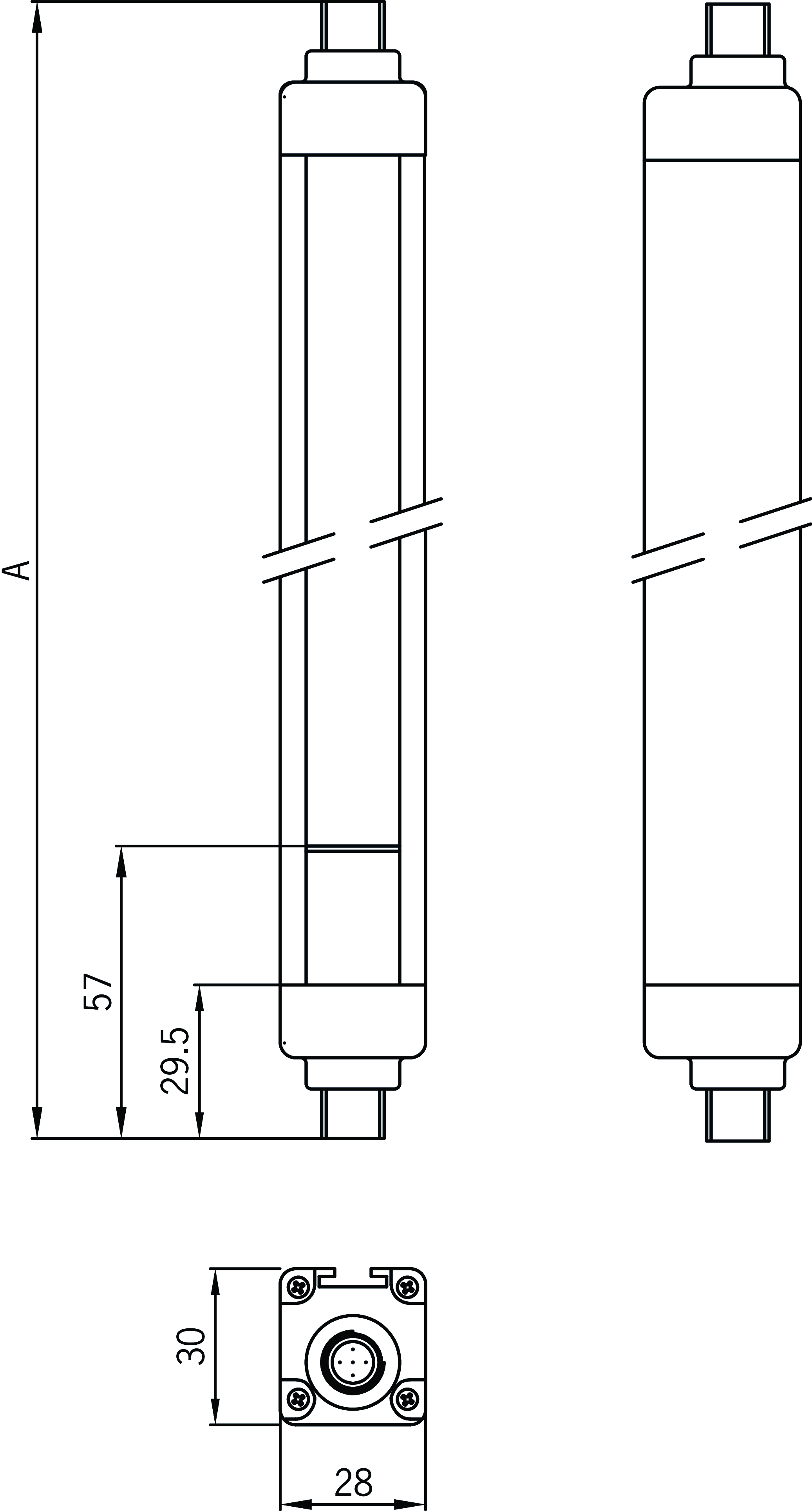
Dessins cotés

| 1 | Rondelle |
| 2 | Rondelle élastique |
| 3 | Écrou |
| A | Équerre de fixation |
| B | Plaque de fixation |
Dessins cotés

| A = Hauteur du capteur (voir les caractéristiques techniques) |
Exemples de connexion

Exemples de connexion

Caractéristiques techniques
Autorisations


Eléments de commande et d'affichage
| Indicateur LED | oui (Autodiagnostic et état) |
Puissance électrique connectée
| Puissance absorbée récepteur | 2 W |
| Puissance absorbée émetteur | 1 W |
| Courant de sortie | |
| par sortie de sécurité | max. 400 mA |
| Tension de service DC | 24 V DC -20% ... +20% |
| Possibilité de montage en cascade | oui (Câble de raccordement de 50 m max. entre le maître et les esclaves) |
| Muting possible | en combinaison avec des capteurs externes et un analyseur |
Valeurs mécaniques et environnement
| Dimensions | 28x30 mm (section) |
| Type de connexion | Connecteur M12 (émetteur 5 broches / récepteur 8 broches) (Les connexions Maître-Esclave1 et Maître-Esclave2-Esclave1 sont 2 connecteurs M12 5 broches) |
| Résolution | 30 mm |
| Position de montage | Au choix |
| Hauteur du champ de protection | 1210 mm |
| Hauteur du capteur | 1263 mm |
| Température de stockage | -30 ... 70 °C |
| Longueur maximale des câbles de raccordement | 100 m |
| Portée du champ de protection | 12000 mm |
| Indice de protection | IP65 / IP67 |
| Température ambiante | -30 ... 55 °C |
Valeurs caractéristiques selon EN ISO 13849-1 et EN IEC 62061
| PL | SIL maximal | PFHD | Catégorie | Durée d’utilisation | |
|---|---|---|---|---|---|
| Surveillance du champ de protection | PL e | 3 | 1.67x10-8 | 4 | 20 y |
Divers
| Type ESPE | 4 (selon EN 61496-1) |
Accessoires
Accessoires de montage
Téléchargements
Ensemble complet
Télécharger tous les documents importants en un seul clic.
Contient :
- Le mode d’emploi et, le cas échéant, compléments du mode d’emploi ou brèves instructions
- Le cas échéant, fiches techniques en complément du mode d’emploi
- La déclaration de conformité
Télécharger l’ensemble complet (ZIP, 9,7 MB)
Documents individuels
Déclarations de conformité
EU-Konformitätserklärung
N° doc.
Version
Langue
Taille
EU-Konformitätserklärung
N° doc.
EDC2503625
Version
Langue
Taille
0,1 MB
UKCA-Konformitätserklärung
N° doc.
Version
Langue
Taille
UKCA-Konformitätserklärung
N° doc.
EDC20001607
Version
Langue
Taille
0,1 MB
Instructions
Mode d’emploi Barrières photoélectriques / rideaux lumineux LCA 4
N° doc.
Version
Langue
Taille
Mode d’emploi Barrières photoélectriques / rideaux lumineux LCA 4
N° doc.
2504709
Version
03/25
Langue
Taille
3,4 MB
Operating Instructions Light Grids/Light Curtains LCA 4
N° doc.
2504709
Version
03/25
Langue
Taille
3,4 MB
Manual de instrucciones Barreras y cortinas fotoeléctricas LCA 4
N° doc.
2504709
Version
03/25
Langue
Taille
3,4 MB
Betriebsanleitung Lichtgitter/ Lichtvorhänge LCA 4
N° doc.
2504709
Version
03/25
Langue
Taille
3,5 MB
사용 설명서 광 그리드/광 커튼 LCA 4
N° doc.
2504709
Version
03/25
Langue
Taille
3,2 MB
Autres documents
Agréments et certificats
TÜV SÜD München Z10 Zertifikat
N° doc.
Version
Langue
Taille
TÜV SÜD München Z10 Zertifikat
N° doc.
20001592
Version
Langue
Taille
0,3 MB
WEEE
N° doc.
Version
Langue
Taille
WEEE
N° doc.
ECO20001806
Version
Langue
Taille
0,1 MB
c UL us
N° doc.
Version
Langue
Taille
c UL us
N° doc.
Version
Langue
Taille
0,2 MB
Documents de vente
Barreras fotoeléctricas y cortinas fotoeléctricas LCA
N° doc.
Version
Langue
Taille
Barreras fotoeléctricas y cortinas fotoeléctricas LCA
N° doc.
157087
Version
04-02/21
Langue
Taille
9,5 MB
Barrières photoélectriques et rideaux lumineux LCA
N° doc.
Version
Langue
Taille
Barrières photoélectriques et rideaux lumineux LCA
N° doc.
157086
Version
04-02/21
Langue
Taille
9,5 MB
Barrières photoélectriques et rideaux lumineux LCA
N° doc.
157086
Version
03-03/18
Langue
Taille
2,4 MB
Light grids and light curtains LCA
N° doc.
157085
Version
03-03/18
Langue
Taille
2,4 MB
Barreras fotoeléctricas y cortinas fotoeléctricas LCA
N° doc.
157087
Version
03-03/18
Langue
Taille
2,4 MB
Lichtgitter und Lichtvorhänge LCA
N° doc.
157084
Version
03-03/18
Langue
Taille
2,5 MB
光栅和光幕LCA
N° doc.
159698
Version
03-03/18
Langue
Taille
9,6 MB
Lichtgitter und Lichtvorhänge LCA
N° doc.
Version
Langue
Taille
Lichtgitter und Lichtvorhänge LCA
N° doc.
157084
Version
04-02/21
Langue
Taille
9,6 MB
Light grids and light curtains LCA
N° doc.
Version
Langue
Taille
Light grids and light curtains LCA
N° doc.
157085
Version
04-02/21
Langue
Taille
9,4 MB
光栅和光幕LCA
N° doc.
Version
Langue
Taille
光栅和光幕LCA
N° doc.
159698
Version
04-02/21
Langue
Taille
9,6 MB
Macros ePlan
EUC.156634
N° doc.
Version
Langue
Taille
EUC.156634
N° doc.
Version
Langue
Taille
0,1 MB
Données de commande
| N° de commande | 156634 |
| Désignation article | LCA-4TR-S2-30-1210-AP-156634 |
| Poids brut | 3,891kg |
| Code douanier | 85365019000 |
| ECLASS | 27-27-09-10 Light curtain |









