PM-SCL-096945 (N.º de pedido 096945)
Elija el contenido
Módulo limitador de la corriente de conexión PM-SCL
- Limitación del voltaje de conmutación
- Adecuado para el montaje en el raíl de montaje

Descripción



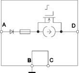
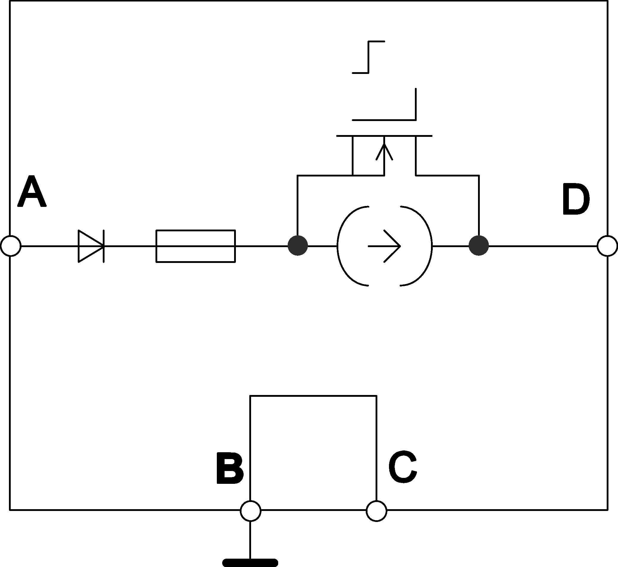
Dibujos acotados

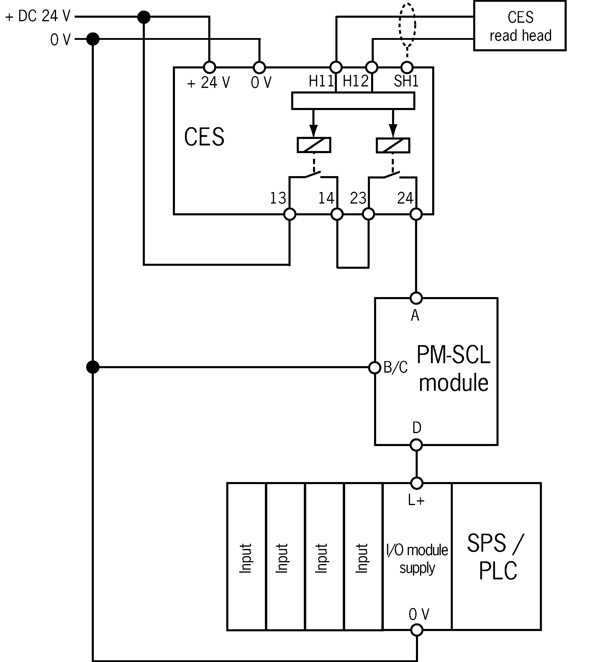
Ejemplos de conexión

Ejemplos de conexión

Datos técnicos
Valores de conexión eléctrica
| Cobertura | |
| Interno (fusible para corrientes débiles 20 x 5 mm) | 6.3 A Lento, capacidad de desconexión mín. 1 kA |
| Sección transversal de conexión | 0.14 ... 2.5 mm² |
| Tensión de conmutación | |
| DC | 15 ... 24 ... 40 V (Regulada, ondulación residual<5 %) |
| Consumo de corriente | |
| Consumo interno de corriente | 5 mA |
| Grado de contaminación (externa, según EN 60947-1) | 2 |
| Borne: A | |
| Tipo de entrada | Entrada de semiconductor |
| Borne: D | |
| Tipo de salida | Salida de semiconductor |
| Corriente de salida | |
| Limitación de la corriente de conexión | 60 mA |
| Duración de la limitación | |
| Con una tensión de entrada de 24 V y una frecuencia de conmutación máx. de 1 Hz | 75 ... 160 ms |
| Carga de activación | |
| Capacidad de carga con posibilidad de eliminación de interferencias (con una tensión de entrada de 24 V) | Máx. 40 µF |
| Corriente de conmutación | 1 ... 3000 mA |
| Caída de tensión Ud | |
| Transcurrido el tiempo de limitación | max. 1.3 V |
Valores mecánicos y entorno
| Tipo de conexión | Bornes roscados |
| Temperatura de almacenamiento | -25 ... 70 °C |
| Humedad atmosférica | |
| Sin condensación | max. 80 % rH |
| Tipo de montaje | Raíl de montaje TH 35, G32 (EN IEC 60715) |
| Clase de protección | IP20 |
| Temperatura ambiental | |
| Con UB = 24 V CC | -20 ... 55 °C |
| Material | |
| Carcasa | Poliamida UL 94.V2 |
Descargas
Paquete completo
Descargue todos los documentos importantes con un solo clic.
Incluye:
- El manual de instrucciones y, en su caso, la documentación adicional correspondiente o las guías breves.
- En su caso, las fichas de datos como complemento al manual de instrucciones.
- La declaración de conformidad.
Descargar el paquete completo (ZIP, 0,9 MB)
Documentos sueltos
Declaraciones de conformidad
EU-Konformitätserklärung
N.º doc.
Versión
Idioma
Tamaño
EU-Konformitätserklärung
N.º doc.
EDC2077154
Versión
Idioma
Tamaño
0,2 MB
UKCA-Konformitätserklärung
N.º doc.
Versión
Idioma
Tamaño
UKCA-Konformitätserklärung
N.º doc.
EDC20001581
Versión
Idioma
Tamaño
0,2 MB
Otros documentos
Documentos de venta
Homologaciones y certificados
WEEE
N.º doc.
Versión
Idioma
Tamaño
WEEE
N.º doc.
ECO20001806
Versión
Idioma
Tamaño
0,1 MB
Datos de pedido
| N.º de pedido | 096945 |
| Nombre de artículo | PM-SCL-096945 |
| Peso bruto | 0,047kg |
| Partida arancelaria | 85389099990 |
