AE-E-D-172426 (Order no. 172426)
Choose content
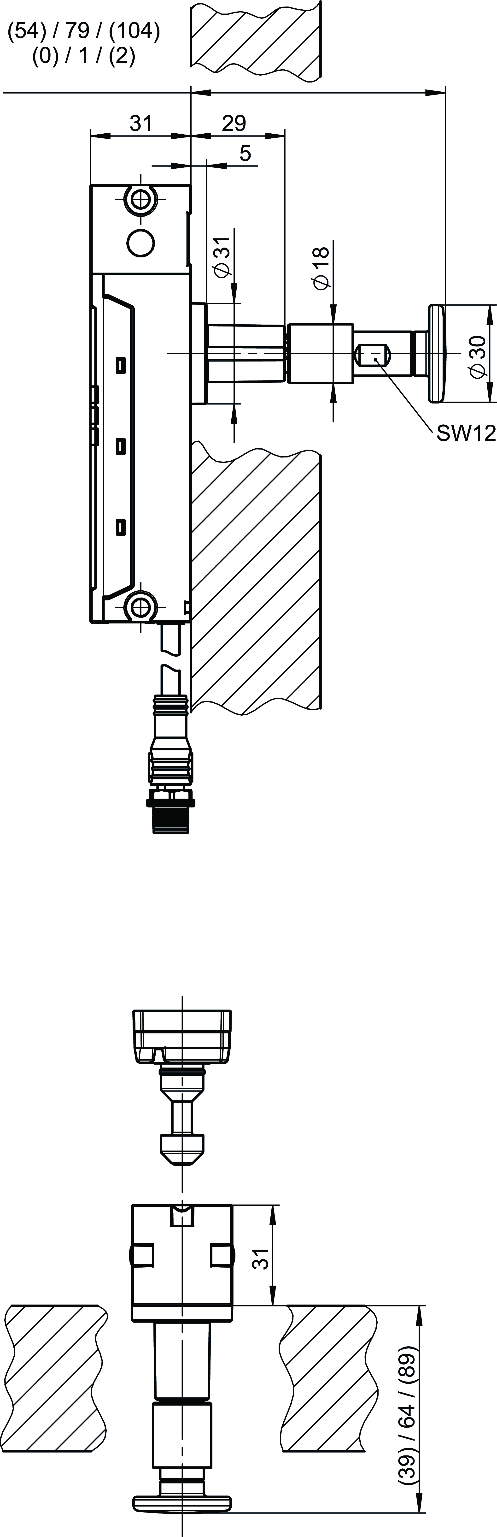
Escape release for CTS, can be retrofitted
- This is used for manual release of guard locking from the danger zone without tools
- Door knob signal red
- Extension pieces and guide sleeve for thicker doors included

Description
Extension pieces and guide sleeve
Two 25 mm extension pieces are included for thicker doors. If the extension pieces are used, the guide sleeve must be fitted.


Dimensional drawings

Connection examples

Technical data
Mechanical values and environment
| Dimensions | |
| Escape release installation height | 54 / 79 / 104 mm |
| Storage temperature | -25 ... 70 °C |
| Material | Reinforced thermoplastic |
Miscellaneous
| Detent mechanism | Yes |
| Additional feature | with extension and guide sleeve |
Accessories
Downloads
Complete package
Download all important documents with a single click.
Content:
- The operating instructions and any additions to the operating instructions or brief instructions
- Any data sheets to supplement the operating instructions
- The declaration of conformity
Download Complete Package (ZIP, 1,9 MB)
Ordering data
| Ordernumber | 172426 |
| Item designation | AE-E-D-172426 |
| Gross weight | 0,033kg |
| Customs tariff number | 85389099990 |

