MSM-1-P-CA-LQY-D6-161739 (Order no. 161739)
Choose content
Submodule MSM-1-P... (white signal indicator, slide-in label, key-operated rotary switch)
- Function expansion for modules MGB2 and MCM
- Connection type: P
- White signal indicator
- 1 cut-out for slide-in label
- 1 key-operated rotary switch 1 x 90°, form V, E22-closing
- incl. lens set (1 x white, 1 x white with labeling)
- incl. 1 x slide-in label

Description
Important:
No keys are included for the key-operated rotary switch. The keys cannot be ordered via EUCHNER.



Dimensional drawings

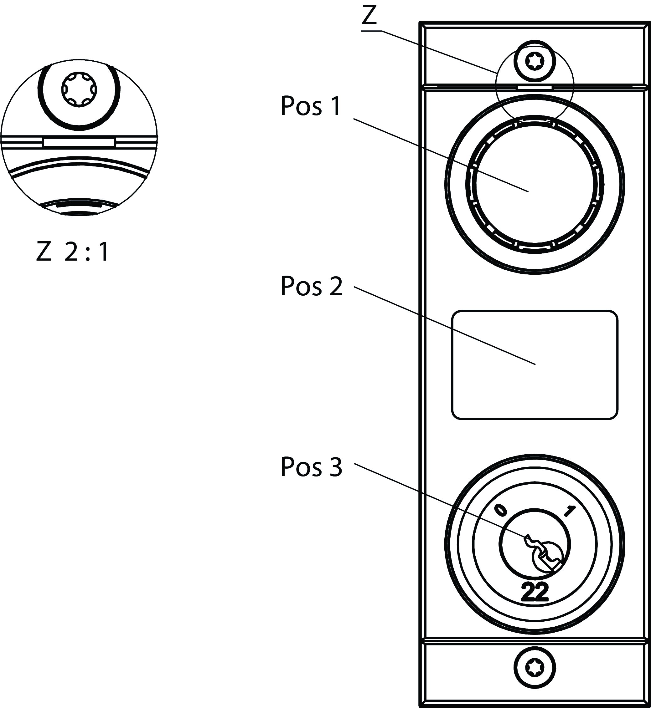
| Pos 1 | White signal indicator |
| Pos 2 | Slide-in label |
| Pos 3 | Key-operated rotary switch 1 x 90°, form V |
| Z | marks orientation of item 1 |
Dimensional drawings

Connection examples

Technical data
Operating and display elements
| Item | Color | Extras | Slide-in label | Switching element | Note slide-in label | Version | Number | Designation1 | LED |
|---|---|---|---|---|---|---|---|---|---|
| 1 | Signal indicator | ||||||||
| 2 | 17.5x27 mm | Position for slide-in label | |||||||
| 3 | E22 | 2NO | Key-operated rotary switch (test pulse monitored) |
Electrical connection values
| Current consumption | max. 12 mA |
| Controls and indicators | |
| Breaking capacity | max. 0.25 W |
| Switching voltage | 24 V |
| Switching current | 5 ... 10 mA |
| LED power supply | 24 V DC |
Mechanical values and environment
| Installation orientation | any |
| Storage temperature | -25 ... 70 °C |
| Shock and vibration resistance | Acc. to EN IEC 60947-5-3 |
| Degree of protection | IP65 (IP20) (in the installed state) |
| Ambient temperature | |
| at UB = 24 V DC | -25 ... 55 °C |
| Material | Fiber glass reinforced plastic, die-cast zinc, nickel plated |
Characteristic values according to EN ISO 13849-1 and EN IEC 62061
| B10D | Mission time | |
|---|---|---|
| Safe key-operated rotary switch | 0.06x106 | 20 y |
Miscellaneous
| Submodulbreite | 1 | Slide-in label | |||||
| |||||||
| Software ID (SW ID) | 161739 | ||||||
| Additional feature | incl. lens set | ||||||
Accessories
Downloads
Complete package
Download all important documents with a single click.
Content:
- The operating instructions and any additions to the operating instructions or brief instructions
- Any data sheets to supplement the operating instructions
- The declaration of conformity
Download Complete Package (ZIP, 2,9 MB)
Single Documents
Declarations of conformity
EU-Konformitätserklärung
Doc. no.
Version
Language
Size
EU-Konformitätserklärung
Doc. no.
EDC2518509
Version
Language
Size
2,8 MB
UKCA-Konformitätserklärung
Doc. no.
Version
Language
Size
UKCA-Konformitätserklärung
Doc. no.
EDC20001508
Version
Language
Size
0,2 MB
Other Documents
Approvals and certificates
WEEE
Doc. no.
Version
Language
Size
WEEE
Doc. no.
ECO20001806
Version
Language
Size
0,1 MB
ePlan macros
EUC.161739
Doc. no.
Version
Language
Size
EUC.161739
Doc. no.
Version
Language
Size
0,0 MB
Ordering data
| Ordernumber | 161739 |
| Item designation | MSM-1-P-CA-LQY-D6-161739 |
| Gross weight | 0,18kg |
| Customs tariff number | 85371098 |
| ECLASS | 27-24-26-05 Field bus, decentralized peripheral - function-/technology module |













