MSM-1-R-DA-M00-A6-137596 (Obj. č. 137596)
Zvolte obsah
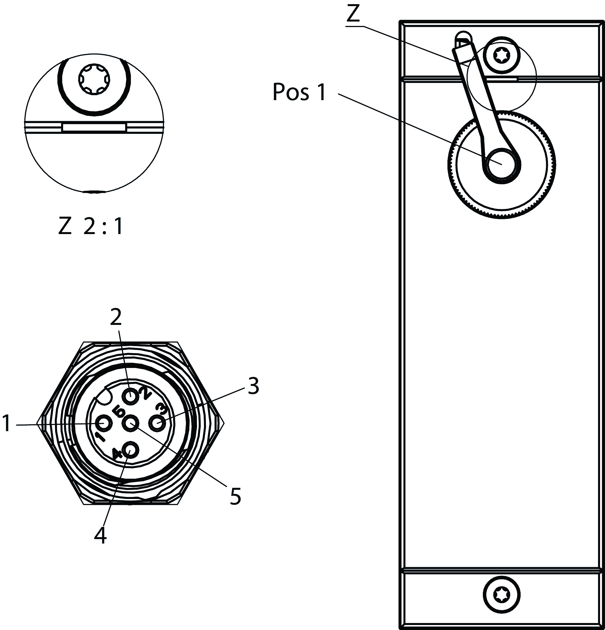
Submodul MSM-1-R... (konektor M12 pro potvrzovací tlačítko)
- Rozšíření funkcí pro moduly MGB2 a MCM
- Typ připojení: R
- 1 konektor M12 pro připojení potvrzovacího tlačítka

Popis
Rozměrové výkresy

Rozměrové výkresy

| Pos 1 | Konektor M12 pro připojení potvrzovacího tlačítka |
| Z | Označuje zarovnání pol. 1 |
Technické údaje
Ovládací a zobrazovací prvky
| Poloha | Barva | Doplňky | Vkládací štítek | Spínací jednotka | Vkládací štítek | Provedení | Počet | Označení1 | LED |
|---|---|---|---|---|---|---|---|---|---|
| 1 | Přípojka M12 × 1 pro potvrzovací tlačítko |
Hodnoty elektrického připojení
| Odběr proudu | max. 16 mA |
| Ovládací a indikační prvky | |
| Spínaný výkon | max. 0.25 W |
| Spínací napětí | 24 V |
| Spínací proud | 5 ... 10 mA |
Mechanické hodnoty a prostředí
| Montážní poloha | Libovolná |
| Teplota při skladování | -25 ... 70 °C |
| Doba odezvy | Viz návod k použití sběrnicového modulu MBM-..., resp. blokovacího modulu / vyhodnocovacího modulu s jištěním ochranného krytu MGB2-I.-BR-... / MGB2-L.-BR-... |
| Odolnost proti nárazům a vibracím | Podle normy EN IEC 60947-5-3 |
| Třída ochrany | IP65 (IP20) (Ve vestavěném stavu) |
| Okolní teplota | |
| Při UB = 24 V DC | -25 ... 55 °C |
| Materiál | Plast zesílený skelnými vlákny, zinkový tlakový odlitek, niklovaný |
Charakteristické hodnoty podle EN ISO 13849-1 a EN IEC 62061
| PL | Maximální SIL | PFHD | Kategorie | Doba provozu | |
|---|---|---|---|---|---|
| Analýza bezpečnostních signálů | PL e | - | 9.06x10-10 | 4 | 20 y |
| Platí pouze pro externě připojené bezpečnostní funkce, jako jsou povolovací spínače, bezpečnostní spínače atd. | |||||
Různé
| Submodulbreite | 1 |
| ID softwaru (SW-ID) | 137596 |
Příslušenství
ZSA
ZSA, 3stupňové s kabelem a konektorem M12
169871
ZSA2B4G02CC2322
ZSA2B4G02CC2322
- Pouzdro G1
- 3stupňová funkce
- Přímý připojovací kabel s konektorem, 2 m
170949
ZSA2B4G02CC2630
ZSA2B4G02CC2630
- Pouzdro G1
- 3stupňová funkce
- Přímý připojovací kabel s konektorem, 2 m
110560
ZSA2B4G10CC2322
ZSA2B4G10CC2322
- Pouzdro G1
- 3stupňová funkce
- Přímý připojovací kabel s konektorem, 10 m
170950
ZSA2B4G10CC2630
ZSA2B4G10CC2630
- Pouzdro G1
- 3stupňová funkce
- Přímý připojovací kabel s konektorem, 10 m
170951
ZSA2B4G15CC2630
ZSA2B4G15CC2630
- Pouzdro G1
- 3stupňová funkce
- Přímý připojovací kabel s konektorem, 15 m
Ke stažení
Celé balení
Stáhněte si všechny důležité dokumenty jedním kliknutím.
Obsahuje:
- Návod k použití a příp. dodatky k návodu k použití nebo stručné návody
- Příp. datové listy jako dodatek k návodu k použití
- Prohlášení o shodě
Stáhnout kompletní balíček (ZIP, 3,0 MB)
Jednotlivé dokumenty
Pokyny
Operating Instructions Submodule MSM-1-R-.A-…
Č. dok.
Verze
Jazyk
Velikost
Operating Instructions Submodule MSM-1-R-.A-…
Č. dok.
2539735
Verze
12/22
Jazyk
Velikost
1,1 MB
Mode d’emploi Sous-module MSM-1-R-.A-…
Č. dok.
2539735
Verze
12/22
Jazyk
Velikost
1,1 MB
Manual de instrucciones Submódulo MSM-1-R-.A-…
Č. dok.
2539735
Verze
12/22
Jazyk
Velikost
1,1 MB
Betriebsanleitung Submodul MSM-1-R-.A-…
Č. dok.
2539735
Verze
12/22
Jazyk
Velikost
1,1 MB
Prohlášení o shodě
EU-Konformitätserklärung
Č. dok.
Verze
Jazyk
Velikost
EU-Konformitätserklärung
Č. dok.
EDC2518509
Verze
Jazyk
Velikost
0,2 MB
UKCA-Konformitätserklärung
Č. dok.
Verze
Jazyk
Velikost
UKCA-Konformitätserklärung
Č. dok.
EDC20001508
Verze
Jazyk
Velikost
0,2 MB
Ostatní dokumenty
Schválení a certifikáty
WEEE
Č. dok.
Verze
Jazyk
Velikost
WEEE
Č. dok.
ECO20001806
Verze
Jazyk
Velikost
0,1 MB
Makra ePlan
EUC.137596
Č. dok.
Verze
Jazyk
Velikost
EUC.137596
Č. dok.
Verze
Jazyk
Velikost
0,1 MB
Objednací údaje
| Obj. č. | 137596 |
| Název výrobku | MSM-1-R-DA-M00-A6-137596 |
| Hmotnost brutto | 0,095kg |
| Číslo celního tarifu | 85389099990 |
| ECLASS | 27-24-26-05 Field bus, decentralized peripheral - function-/technology module |






