Úvodní stránkaVýrobkyElektromechanické bezpečnostní spínače bez jištění ochranného krytuN1A / NB01 Jednoduchý koncový spínač, polohový spínač NZ a vestavěný koncový spínač EGZN1AR514-M
N1AR514-M (Obj. č. 078487)
Zvolte obsah
Samostatný koncový spínač N1AR, plunžr s rolnou, kabelový vstup M16×1,5
- Plunžr s rolnou, ocelová rolna ø 8 mm
- 2× kabelový vstup M16 × 1,5
- 1× nuceně rozpínaný kontakt
- 1× spínací kontakt

Popis
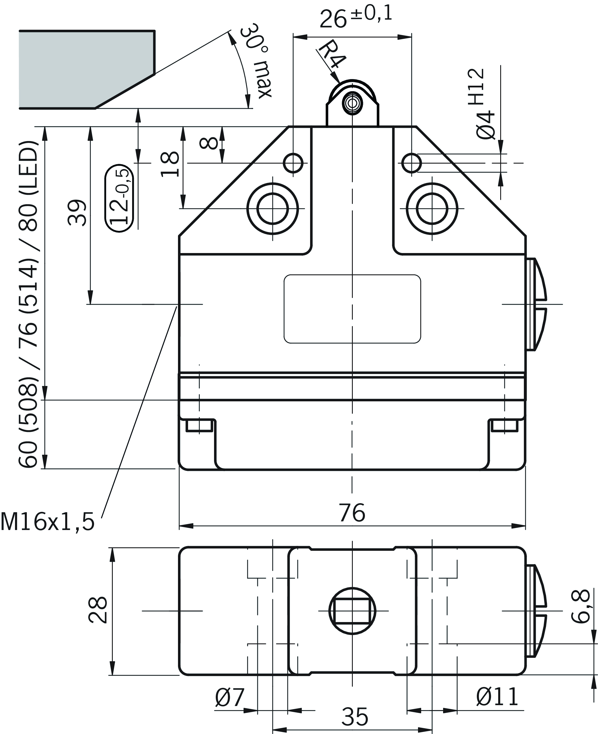
Rozměrové výkresy

Příklady připojení

Diagramy směnových jízd

![]() | Kontakty sepnuty |
![]() | Kontakty rozepnuty |
![]() | Kontakty nuceně rozepnuty |
Technické údaje
Schválení



Hodnoty elektrického připojení
| Zajištění | max. 6 A gG |
| Průřez přípojky | 0.34 ... 1.5 mm² |
| Návrhové izolační napětí Ui | 250 V |
| Jmenovité impulzní napětí Uimp | 4 kV |
| Kategorie použití | |
| AC-15 | 2,5 A 230 V |
| DC-13 | 6 A 24 V |
| Spínací proud | |
| Min. při 24 V DC | 5 mA |
| Tepelný návrhový proud Ith | 10 A |
Mechanické hodnoty a prostředí
| Anfahrgeschwindigkeit | 0.01 ... 80 m/min |
| Typ připojení | |
| 2× | M16 × 1,5 |
| Počet spínacích jednotek | 1 |
| Počet spínacích kontaktů | 1 |
| Počet nuceně rozpínaných kontaktů | 1 |
| Provedení | Pouzdro podle normy DIN 43693 |
| Ovládací prvek | Plunžr s rolnou |
| Ovládací síla | min. 30 N |
| Montážní poloha | Libovolná |
| Teplota při skladování | -25 ... 80 °C |
| Mechanická životnost | 1 x 10⁶ |
| Doba odskoku | max. 3 ms |
| Průměr rolny | 8 mm |
| Princip přepínání | Mžikový spínací člen |
| Schließzeit | max. 5 ms |
| Třída ochrany | IP67 |
| Okolní teplota | -25 ... 80 °C |
| Materiál | |
| Pouzdro | Anodicky oxidovaný tlakový odlitek z lehkého kovu |
| Kontakt | Slitina stříbra, velmi tenké pozlacení |
Charakteristické hodnoty podle EN ISO 13849-1 a EN IEC 62061
| Monitorování polohy ochranného krytu | |
| B10D | 2 x 10⁶ |
Ke stažení
Celé balení
Stáhněte si všechny důležité dokumenty jedním kliknutím.
Obsahuje:
- Návod k použití a příp. dodatky k návodu k použití nebo stručné návody
- Příp. datové listy jako dodatek k návodu k použití
- Prohlášení o shodě
Stáhnout kompletní balíček (ZIP, 2,2 MB)
Jednotlivé dokumenty
Pokyny
Operating Instructions Precision Single Limit Switch N1A
Č. dok.
Verze
Jazyk
Velikost
Operating Instructions Precision Single Limit Switch N1A
Č. dok.
2032309
Verze
05/25
Jazyk
Velikost
0,7 MB
Mode d’emploi Fins de course monopistes de précision N1A
Č. dok.
2032309
Verze
05/25
Jazyk
Velikost
0,7 MB
Manual de instrucciones Final de carrera unitario de precisión N1A
Č. dok.
2032309
Verze
05/25
Jazyk
Velikost
0,7 MB
Betriebsanleitung Präzisions-Einzelgrenztaster N1A
Č. dok.
2032309
Verze
05/25
Jazyk
Velikost
0,7 MB
Istruzioni di impiego Finecorsa di precisione singoli N1A
Č. dok.
2032309
Verze
05/25
Jazyk
Velikost
0,7 MB
Prohlášení o shodě
EU-Konformitätserklärung
Č. dok.
Verze
Jazyk
Velikost
EU-Konformitätserklärung
Č. dok.
EDC2539628
Verze
Jazyk
Velikost
0,2 MB
UKCA-Konformitätserklärung
Č. dok.
Verze
Jazyk
Velikost
UKCA-Konformitätserklärung
Č. dok.
EDC20001551
Verze
Jazyk
Velikost
0,1 MB
Ostatní dokumenty
Prodejní doklady
Bezpečnostní spínače s kovovým pouzdrem
Č. dok.
Verze
Jazyk
Velikost
Bezpečnostní spínače s kovovým pouzdrem
Č. dok.
121650
Verze
11-03/18
Jazyk
Velikost
7,8 MB
Safety Switches with Metal Housing
Č. dok.
100369
Verze
11-03/18
Jazyk
Velikost
7,8 MB
Interrupteurs de sécurité avec boîtier métallique
Č. dok.
100676
Verze
11-03/18
Jazyk
Velikost
7,9 MB
Interruptores de seguridad con carcasa metálica
Č. dok.
104856
Verze
11-03/18
Jazyk
Velikost
14,0 MB
Sicherheitsschalter mit Metallgehäuse
Č. dok.
100319
Verze
11-03/18
Jazyk
Velikost
7,9 MB
金属壳体 的安全开关
Č. dok.
102453
Verze
11-03/18
Jazyk
Velikost
8,2 MB
Position Switches and Multiple Limit Switches
Č. dok.
Verze
Jazyk
Velikost
Position Switches and Multiple Limit Switches
Č. dok.
157836
Verze
01-03/18
Jazyk
Velikost
4,1 MB
Interrupteurs de position et boîtiers multipistes
Č. dok.
157837
Verze
01-03/18
Jazyk
Velikost
4,1 MB
Positionsschalter und Reihengrenztaster
Č. dok.
157835
Verze
01-03/18
Jazyk
Velikost
4,1 MB
Schválení a certifikáty
CCC
Č. dok.
Verze
Jazyk
Velikost
CCC
Č. dok.
20001849
Verze
Jazyk
Velikost
0,0 MB
DNV-GL
Č. dok.
Verze
Jazyk
Velikost
DNV-GL
Č. dok.
Verze
Jazyk
Velikost
0,2 MB
WEEE
Č. dok.
Verze
Jazyk
Velikost
WEEE
Č. dok.
ECO20001806
Verze
Jazyk
Velikost
0,1 MB
c UL us
Č. dok.
Verze
Jazyk
Velikost
c UL us
Č. dok.
Verze
Jazyk
Velikost
0,3 MB
Makra ePlan
EUC.078487
Č. dok.
Verze
Jazyk
Velikost
EUC.078487
Č. dok.
Verze
Jazyk
Velikost
0,4 MB
CAD/eCAD
Objednací údaje
| Obj. č. | 078487 |
| Název výrobku | N1AR514-M |
| Hmotnost brutto | 0,27kg |
| Global Trade Item Number (GTIN) | 4047048004610 |
| Číslo celního tarifu | 85365019000 |
| ECLASS | 27-27-06-01 Position switch (Type 1) |
+ 1× spínací kontakt








