AE-L-C40-123625 (Obj. č. 123625)
Zajišťovací mechanismus CEM-C40
- Použití u nebezpečných prostorů, do nichž lze vejít
- Zamezuje nechtěné aktivaci jištění ochranného krytu
- Otočná krycí deska s vytahovacím knoflíkem
- Jištění pomocí max. tří visacích zámků
- Průměr třmenu visacích zámků: 4,0–7,0 mm

Popis
Zajišťovací mechanismus se upevňuje na bezpečnostní spínač CEM-C40. V otočené poloze krycí desky nemůže aktuátor přitáhnout kotevní desku ani ve chvíli, kdy elektromagnetem protéká proud. Při aktivovaném zajišťovacím mechanismu se bezpečnostní výstupy nespínají ani při zavřených dveřích. Zajišťovací mechanismus lze zajistit 3 visacími zámky. Aktivovaný zajišťovací mechanismus zamezuje tomu, aby nedopatřením došlo k uzavření například pracovníků údržby v nebezpečném prostoru. Zajišťovací mechanismus neplní žádnou bezpečnostní funkci.

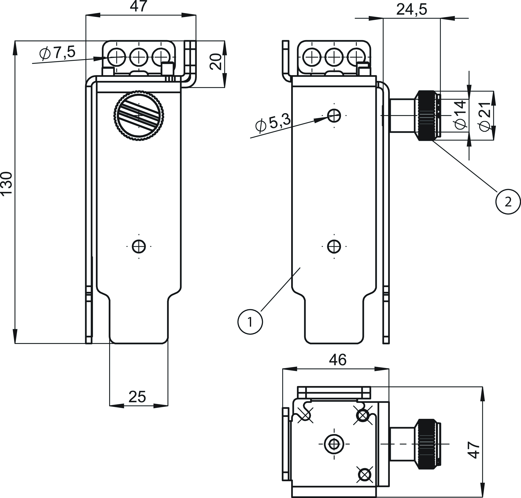
Rozměrové výkresy

| 1 | Otočná krycí deska |
| 2 | Vytahovací knoflík |
Technické údaje
Mechanické hodnoty a prostředí
| Počet otvorů | 3 |
| Průměr čepu | 4 ... 7 mm |
| Teplota při skladování | -25 ... 70 °C |
| Materiál | NEREZOVÁ OCEL |
Součásti obsažené v sadě
| Obsažené příslušenství | ZAJIŠŤOVACÍ MECHANISMUS CEM-C40 |
Ke stažení
Celé balení
Stáhněte si všechny důležité dokumenty jedním kliknutím.
Obsahuje:
- Návod k použití a příp. dodatky k návodu k použití nebo stručné návody
- Příp. datové listy jako dodatek k návodu k použití
- Prohlášení o shodě
Jednotlivé dokumenty
Ostatní dokumenty
CAD/eCAD
Objednací údaje
| Obj. č. | 123625 |
| Název výrobku | AE-L-C40-123625 |
| Hmotnost brutto | 0,285kg |
| Číslo celního tarifu | 85389099990 |

